鞍钢股份获得实用新型专利授权:“一种可折叠式水喷雾除尘装置”
作者:小微
发表于:2026年02月13日
浏览量:67627

图片来源于网络,如有侵权,请联系删除
证券之星消息,根据天眼查APP数据显示鞍钢股份(000898)新获得一项实用新型专利授权,专利名为“一种可折叠式水喷雾除尘装置”,专利申请号为CN202520422684.8,授权日为2026年2月13日。
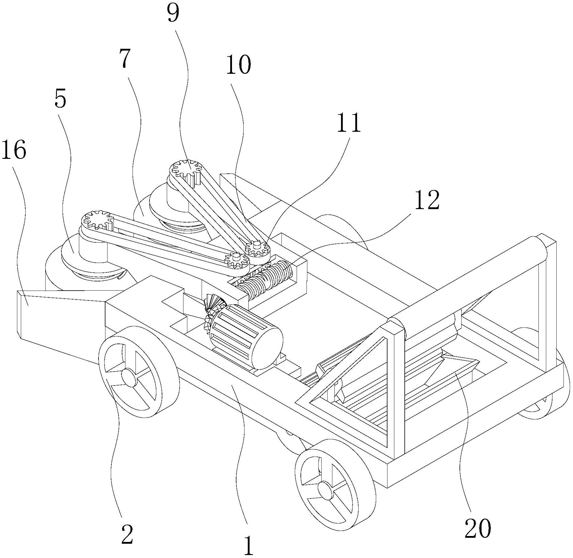
专利摘要:本实用新型属于水喷雾除尘控制技术领域,尤其为一种可折叠式水喷雾除尘装置,包括机体,所述机体的左侧焊接有四个支撑板,相对的两个所述支撑板之间转动连接有转轴。本实用新通过启动电机,电机通过转轴带动对应的连接板转动,连接板带动上喷头转动,另一个连接板通过分水管带动下喷头转动,将连接板转动至机体的左侧,此时停止电机工作,这样机体换辊或调整孔型时装置可以轻松打开,使用完再折叠合上,消除了装置固定安装带来的不必要拆卸,降低劳动强度,降低了现场人员劳动强度,就会降低安全事故发生的机率,提高作业效率,折叠式结构使用简单、调整方便、满足现场复杂的工作环境。

图片来源于网络,如有侵权,请联系删除
今年以来鞍钢股份新获得专利授权176个,较去年同期增加了1253.85%。结合公司2025年中报财务数据,2025上半年公司在研发方面投入了2.59亿元,同比增35.6%。

图片来源于网络,如有侵权,请联系删除
通过天眼查大数据分析,鞍钢股份有限公司共对外投资了53家企业,参与招投标项目67874次;财产线索方面有商标信息15条,专利信息11001条,著作权信息165条;此外企业还拥有行政许可649个。
数据来源:天眼查APP
以上内容为证券之星据公开信息整理,由AI算法生成(网信算备310104345710301240019号),不构成投资建议。
