市场脉动网
  • 首页
  • 财经
  • 上市公司
  • 商业产业
  • 新讯速递
  • 行情分析
  • 金融
  • 大国风云
  • 科技
主页
  • 上海振华重工集团与国际集装箱码头服务公司ICTSI集团举行工作会谈
    小微

    上海振华重工集团与国际集装箱码头服务公司ICTSI集团举行工作会谈

  • 两会丨潘功胜:保持社会融资条件相对宽松
    小微

    两会丨潘功胜:保持社会融资条件相对宽松

  • 全国政协委员、广东证监局局长杨宗儒:维护中企海外权益 增强企业国际影响力
    小微

    全国政协委员、广东证监局局长杨宗儒:维护中企海外权益 增强企业国际影响力

  • 全国政协委员、上交所总经理蔡建春:科创板要落实好关键核心技术领域企业常态化上市机制
    小微

    全国政协委员、上交所总经理蔡建春:科创板要落实好关键核心技术领域企业常态化上市机制

  • “刚才是不是又炸了?太吓人了!”中国游客在导弹声中刷回国机票,华人司机在沙漠公路上“生命摆渡”!中东剧变,当地中国企业还好吗?
    小微

    “刚才是不是又炸了?太吓人了!”中国游客在导弹声中刷回国机票,华人司机在沙漠公路上“生命摆渡”!中东剧变,当地中国企业还好吗?

  • 烽火电子获得发明专利授权:“一种全自动测试适配装置”
    小微

    烽火电子获得发明专利授权:“一种全自动测试适配装置”

  • 中兴通讯获得发明专利授权:“一种无线通信装置、天线的检测方法和用户设备”
    小微

    中兴通讯获得发明专利授权:“一种无线通信装置、天线的检测方法和用户设备”

  • 湘电股份获得发明专利授权:“一种高压电机定子线圈的制作方法”
    小微

    湘电股份获得发明专利授权:“一种高压电机定子线圈的制作方法”

  • 德方纳米获得发明专利授权:“磷酸盐系正极材料及制备方法、正极片、二次电池”
    小微

    德方纳米获得发明专利授权:“磷酸盐系正极材料及制备方法、正极片、二次电池”

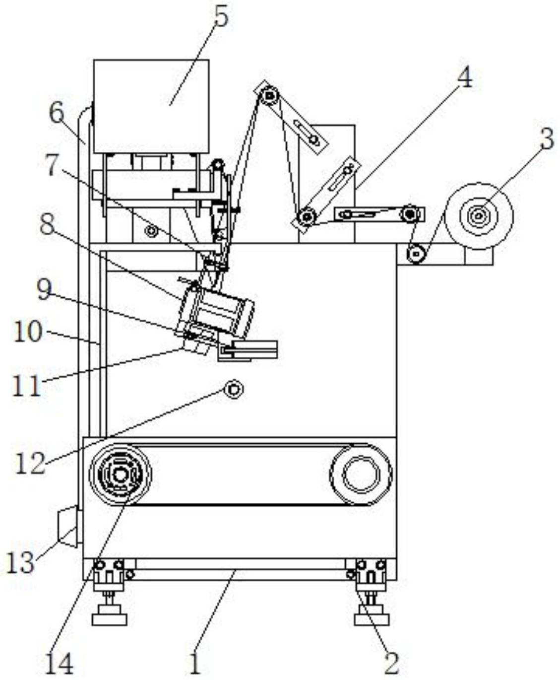
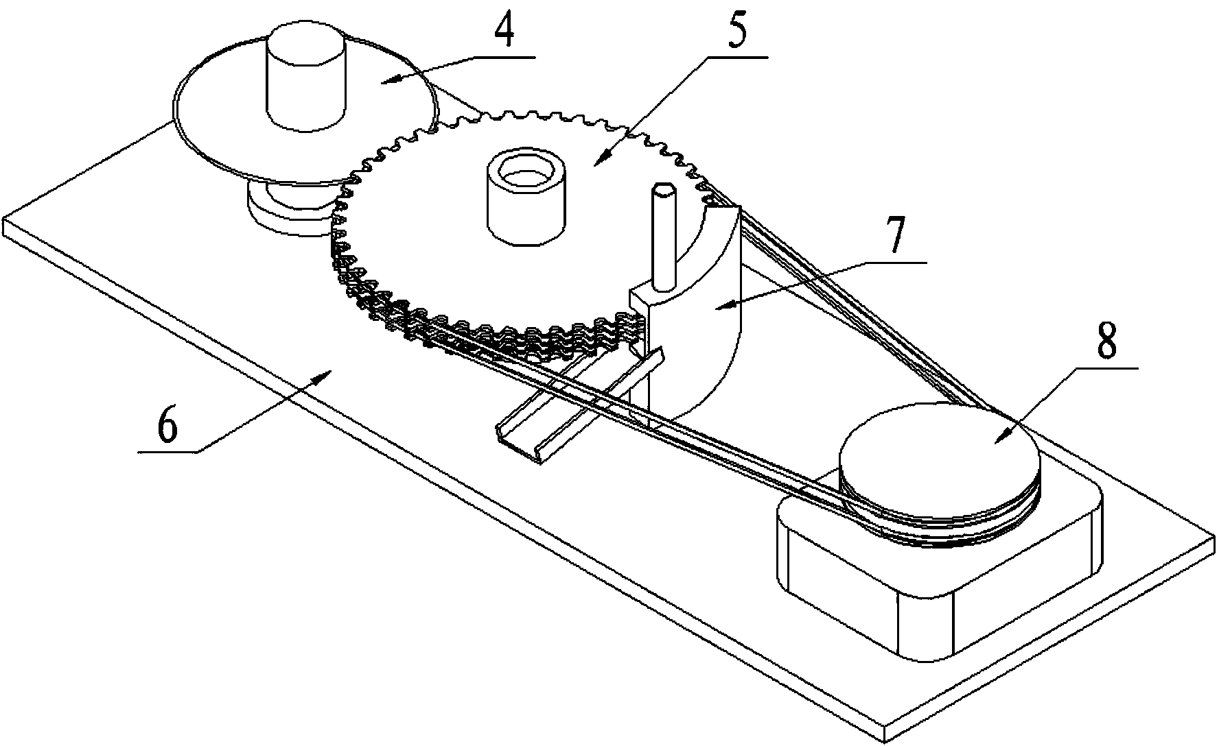
  • 金马游乐获得发明专利授权:“一种游乐设备的束缚装置”
    小微

    金马游乐获得发明专利授权:“一种游乐设备的束缚装置”

第 1 页 , 共 692 页
1 2 3 4 5 6 7 8 9 10 › ››
热门文章
  • 刚刚,中东传来最新消息!
  • 个人养老金保险产品大幅扩容 结算利率持续下降逼近3%
  • 债市早参8月16日|监管否认限制银行SPV对公募投资及取消银行投资债基税收优惠;央行行长潘功胜称将逐步淡化对数量目标的关注
  • “停售”效应下八月寿险业绩“狂飙” 平安增速领跑、新华规模止跌|月度保费观察(8月)
  • 警惕车险市场陷阱:“交通安全统筹”低价背后的隐患
  • 平安银行信用卡中心陷“总裁失联”漩涡,去年底因涉两项违规合计被罚600万
  • 保险高管轮替加速 “精算力量”崛起
  • 投资收益大幅增长!三险企净利预增超300亿元
  • “链动餐饮,共赢沪上”――华鼎冷链携手上海行业精英共谋发展
  • 刷屏!3个月,暴赚5400亿元!

Copyright © 2024 lhbc 版权所有

备案号:蜀ICP备2023016377号-14

本站部分内容为转载,不代表本站立场,如有侵权请联系处理。