中国汽研获得实用新型专利授权:“用于减震器试验的电驱装置”
作者:小微
发表于:2026年01月27日
浏览量:58620

图片来源于网络,如有侵权,请联系删除
证券之星消息,根据天眼查APP数据显示中国汽研(601965)新获得一项实用新型专利授权,专利名为“用于减震器试验的电驱装置”,专利申请号为CN202520610414.X,授权日为2026年1月27日。
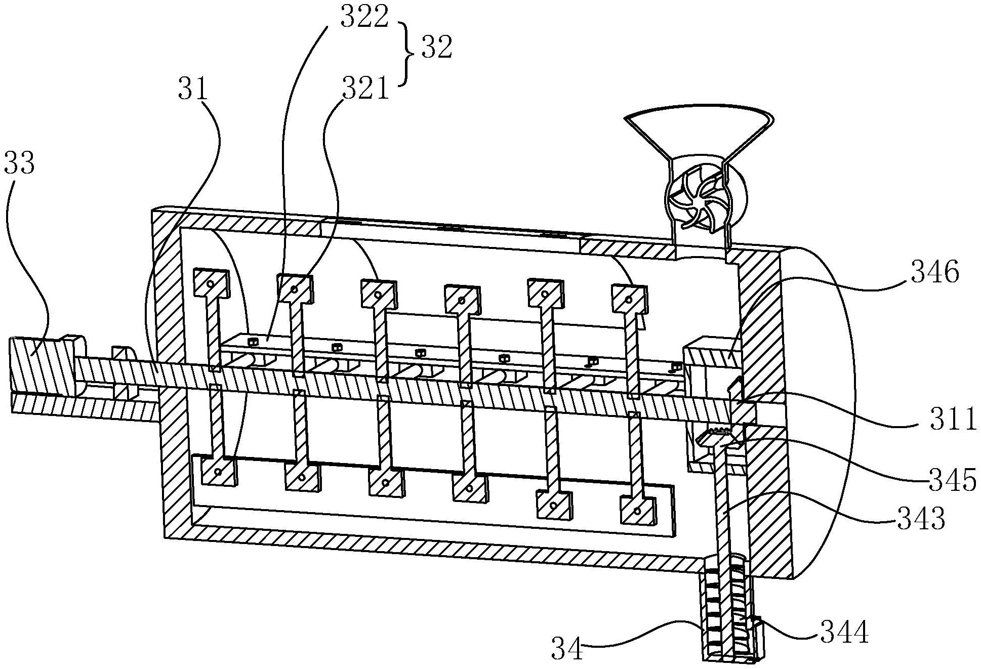
专利摘要:本实用新型涉及汽车零部件试验测试设备技术领域,具体公开了一种用于减震器试验的电驱装置。包括底板、直线电机、位移传感器和执行机构,执行机构包括固定座、导向轴和工装条,直线电机的定子设于底板上、动子与固定座连接并用于驱动固定座沿竖向滑动,导向轴竖向设于固定座上,工装条设于导向轴的顶部。本实用新型中的用于减震器试验的电驱装置,解决了目前减震器试验台的液压驱动存在老化磨损、漏油的问题以及电动曲柄连杆驱动存在振幅检测误差大、运动滞后的问题。
今年以来中国汽研新获得专利授权4个,较去年同期减少了55.56%。结合公司2025年中报财务数据,2025上半年公司在研发方面投入了1.18亿元,同比增16.49%。
通过天眼查大数据分析,中国汽车工程研究院股份有限公司共对外投资了38家企业,参与招投标项目9484次;财产线索方面有商标信息620条,专利信息2094条,著作权信息446条;此外企业还拥有行政许可100个。
数据来源:天眼查APP
以上内容为证券之星据公开信息整理,由AI算法生成(网信算备310104345710301240019号),不构成投资建议。
