新安洁获得实用新型专利授权:“一种广告贴清理装置”
作者:小微
发表于:2025年07月25日
浏览量:69022

图片来源于网络,如有侵权,请联系删除
证券之星消息,根据天眼查APP数据显示新安洁(831370)新获得一项实用新型专利授权,专利名为“一种广告贴清理装置”,专利申请号为CN202422279638.5,授权日为2025年7月25日。
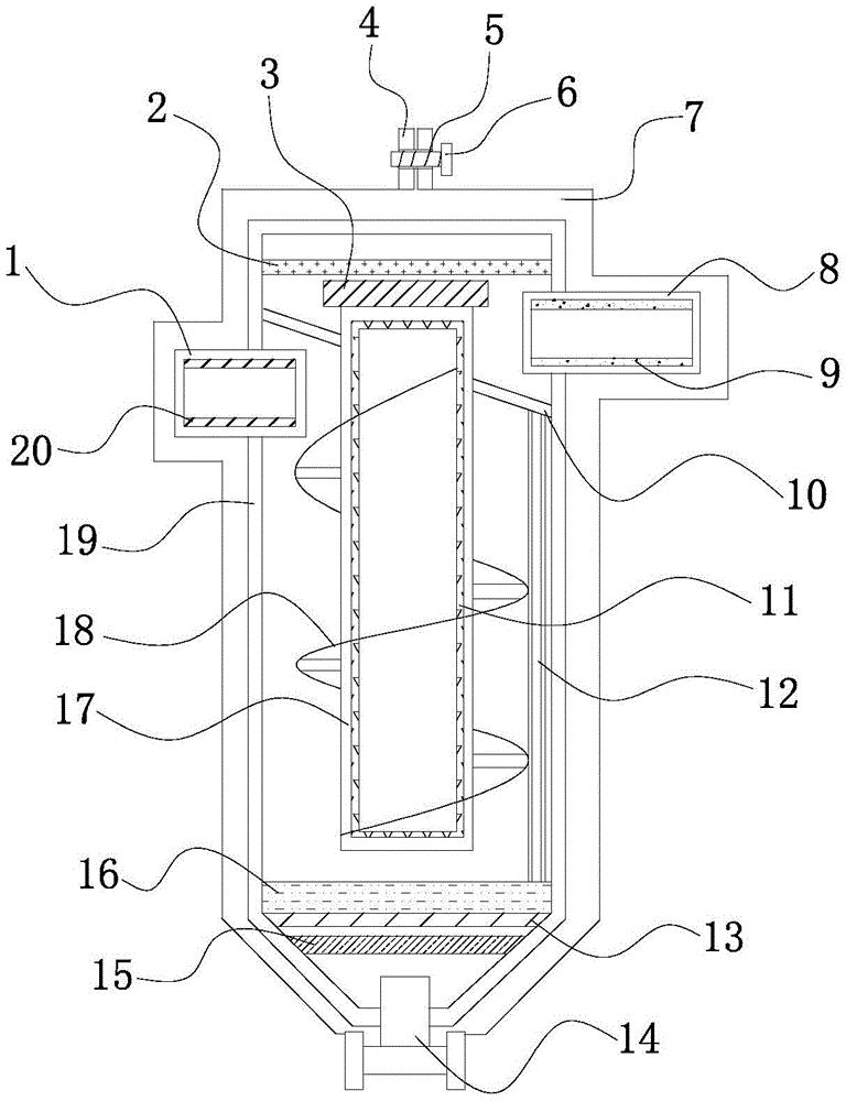
专利摘要:本申请涉及一种广告贴清理装置,涉及清理装置的技术领域,广告贴清理装置包括机体,用于带动机体在地面上移动的滑移组件,滑移设置在机体上的安装板,用于对广告贴进行清理的清理头,用于带动安装板滑移的驱动组件,清理头包括:喷洒组件,用于对广告贴喷洒清洁剂;刮刀组件,用于对喷洒清洁剂后的广告贴进行刮除;打磨组件,用于对刮除后的墙面进行打磨清洁。本申请通过滑移组件带动机体移动到指定位置并锁定,然后驱动组件带动安装板向上滑移,同时喷洒组件将清洁剂喷洒到广告贴上,随着安装板滑移,使得刮刀组件抵紧在广告贴上,以此来对广告贴进行刮除,然后打磨组件对墙面上的污渍进行打磨清洁,提高对广告贴纸的清理效果。
今年以来新安洁新获得专利授权8个,较去年同期增加了700%。结合公司2024年年报财务数据,2024年公司在研发方面投入了526.04万元,同比增0.58%。
通过天眼查大数据分析,新安洁智能环境技术服务股份有限公司共对外投资了36家企业,参与招投标项目685次;财产线索方面有商标信息86条,专利信息82条,著作权信息21条;此外企业还拥有行政许可40个。
数据来源:天眼查APP
以上内容为证券之星据公开信息整理,由AI算法生成(网信算备310104345710301240019号),不构成投资建议。
