电连技术获得实用新型专利授权:“一种连接器壳体及连接器组件”
作者:小微
发表于:2026年02月13日
浏览量:80664

图片来源于网络,如有侵权,请联系删除
证券之星消息,根据天眼查APP数据显示电连技术(300679)新获得一项实用新型专利授权,专利名为“一种连接器壳体及连接器组件”,专利申请号为CN202522585103.5,授权日为2026年2月13日。
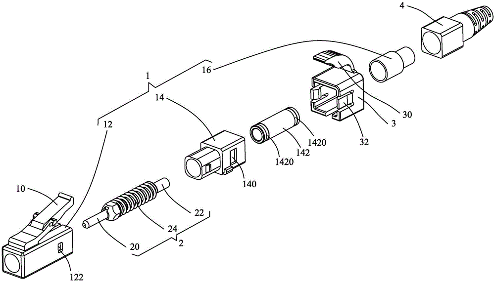
专利摘要:本方案涉及一种连接器壳体及连接器组件,能提升操作灵活性、满足密封需求。连接器壳体包括外壳和后盖,后盖由第一、第二半壳组成,两半壳均包括一顶壁、一底壁、一侧壁及一后壁,两半壳的顶壁一体成形,底壁分离且分离处形成开口,后壁分别设有半圆形围壁;两底壁设有卡扣结构,扣合该卡扣结构,后盖闭合、半圆形围壁拼接形成线缆通道;外壳尾端设有两楔形凸起,两侧壁各设一固定槽,外壳与后盖通过楔形凸起、固定槽固定。连接器组件包括线端连接器、线束密封圈、外胶芯和连接器壳体;外壳套设在外胶芯外周,线端连接器位于外胶芯内并包括线缆、端子、内胶芯和外导体;后盖盖合于外胶芯和外壳末端,线缆通道伸入外胶芯并抵接线缆上的线束密封圈。

图片来源于网络,如有侵权,请联系删除
今年以来电连技术新获得专利授权22个,较去年同期减少了12%。结合公司2025年中报财务数据,2025上半年公司在研发方面投入了2.09亿元,同比减3.35%。

图片来源于网络,如有侵权,请联系删除
通过天眼查大数据分析,电连技术股份有限公司共对外投资了20家企业,参与招投标项目40次;财产线索方面有商标信息5条,专利信息629条,著作权信息10条;此外企业还拥有行政许可126个。
数据来源:天眼查APP
以上内容为证券之星据公开信息整理,由AI算法生成(网信算备310104345710301240019号),不构成投资建议。
