山东高速获得发明专利授权:“一种喷淋养护装置”
作者:小微
发表于:2026年02月07日
浏览量:65057

图片来源于网络,如有侵权,请联系删除
证券之星消息,根据天眼查APP数据显示山东高速(600350)新获得一项发明专利授权,专利名为“一种喷淋养护装置”,专利申请号为CN202311048631.6,授权日为2026年2月6日。
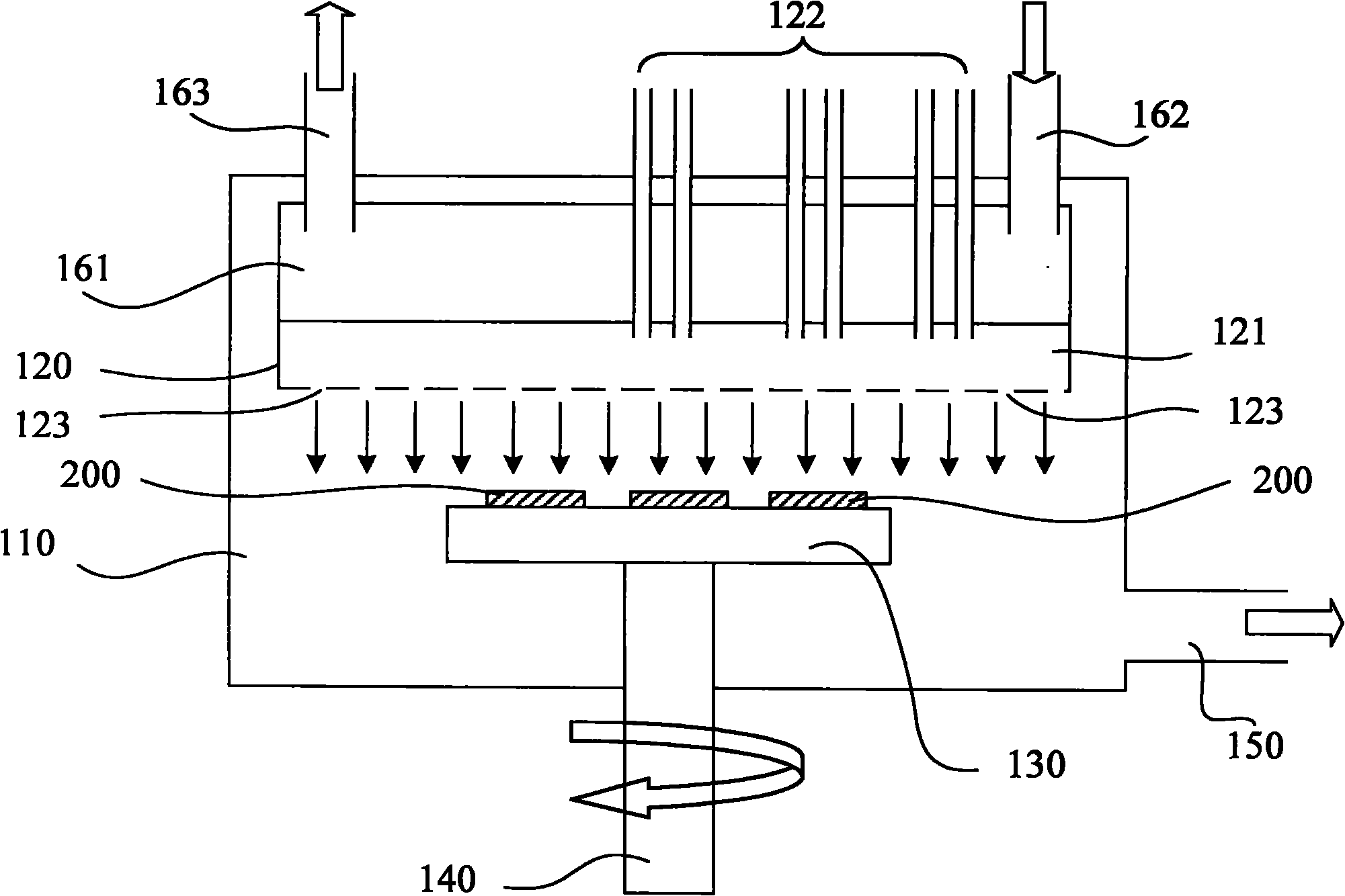
专利摘要:本发明公开了一种喷淋养护装置,包括高压液进水端管组件,所述高压液进水端管组件上设置有高压液自驱动轴组件,所述高压液自驱动轴组件底部转动设置有喷淋管组件,所述高压液自驱动轴组件在高压液进水端管组件上形成高压通液自驱动转动式轴架结构,所述喷淋管组件在高压液自驱动轴组件底部形成喷淋角度调节式喷淋管结构,通过凸轮凸出轮体对限位棘齿臂后端的顶压,限位棘齿臂前端与端部限位台上的限位台棘轮解除限位齿合结构,不需要定点转动喷淋时,再次转动螺纹杆,使得凸轮凸出轮体不对限位棘齿臂的后端顶压,此时限位棘齿臂前端卡设在限位台棘轮处时,自驱动轴在高压液进水端管上形成锁止不转动的轴杆结构。
今年以来山东高速新获得专利授权6个,较去年同期减少了33.33%。结合公司2025年中报财务数据,2025上半年公司在研发方面投入了1.65亿元,同比减9.04%。
通过天眼查大数据分析,山东高速股份有限公司共对外投资了41家企业,参与招投标项目4409次;财产线索方面有商标信息10条,专利信息837条,著作权信息201条;此外企业还拥有行政许可90个。
数据来源:天眼查APP
以上内容为证券之星据公开信息整理,由AI算法生成(网信算备310104345710301240019号),不构成投资建议。
