无锡鼎邦获得实用新型专利授权:“一种换热器生产中管材坡口加工装置”
作者:小微
发表于:2026年01月30日
浏览量:63532

图片来源于网络,如有侵权,请联系删除
证券之星消息,根据天眼查APP数据显示无锡鼎邦(920931)新获得一项实用新型专利授权,专利名为“一种换热器生产中管材坡口加工装置”,专利申请号为CN202520457790.X,授权日为2026年1月30日。
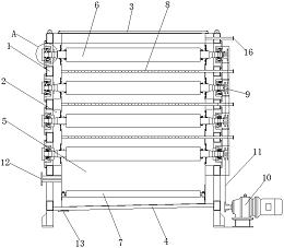
专利摘要:本实用新型涉及换热器生产技术领域,且公开了一种换热器生产中管材坡口加工装置,包括加工仓,所述加工仓的内部开始有放置槽,所述放置槽的内部安装有输送机构,所述加工仓的内壁固定连接有液压杆,所述液压杆的输出端固定连接有电机箱,所述电机箱的内部固定连接有驱动电机,所述驱动电机的输出端固定连接有调节机构,所述输送机构包括安装于放置槽内部的传输带。该换热器生产中管材坡口加工装置,通过输送机构的设置,在进行使用时,铣刀对工件加工产生的碎屑落到底部的传输带上,启动传输带,将碎屑传输到加工仓的外部,并将碎屑输送至末端的收集仓内部进行统一储存,无需人工停机进行手动清理,提高了生产效率。

图片来源于网络,如有侵权,请联系删除
今年以来无锡鼎邦新获得专利授权3个。结合公司2025年中报财务数据,2025上半年公司在研发方面投入了876.24万元,同比增31.11%。

图片来源于网络,如有侵权,请联系删除
通过天眼查大数据分析,无锡鼎邦换热设备股份有限公司共对外投资了1家企业,参与招投标项目625次;财产线索方面有商标信息7条,专利信息105条,著作权信息1条;此外企业还拥有行政许可41个。
数据来源:天眼查APP
以上内容为证券之星据公开信息整理,由AI算法生成(网信算备310104345710301240019号),不构成投资建议。
