金 螳 螂获得发明专利授权:“一种超高空间多角度弧面吊顶的装配式安装设计结构”
作者:小微
发表于:2025年07月26日
浏览量:52385

图片来源于网络,如有侵权,请联系删除
证券之星消息,根据天眼查APP数据显示金 螳 螂(002081)新获得一项发明专利授权,专利名为“一种超高空间多角度弧面吊顶的装配式安装设计结构”,专利申请号为CN202110568440.7,授权日为2025年7月25日。
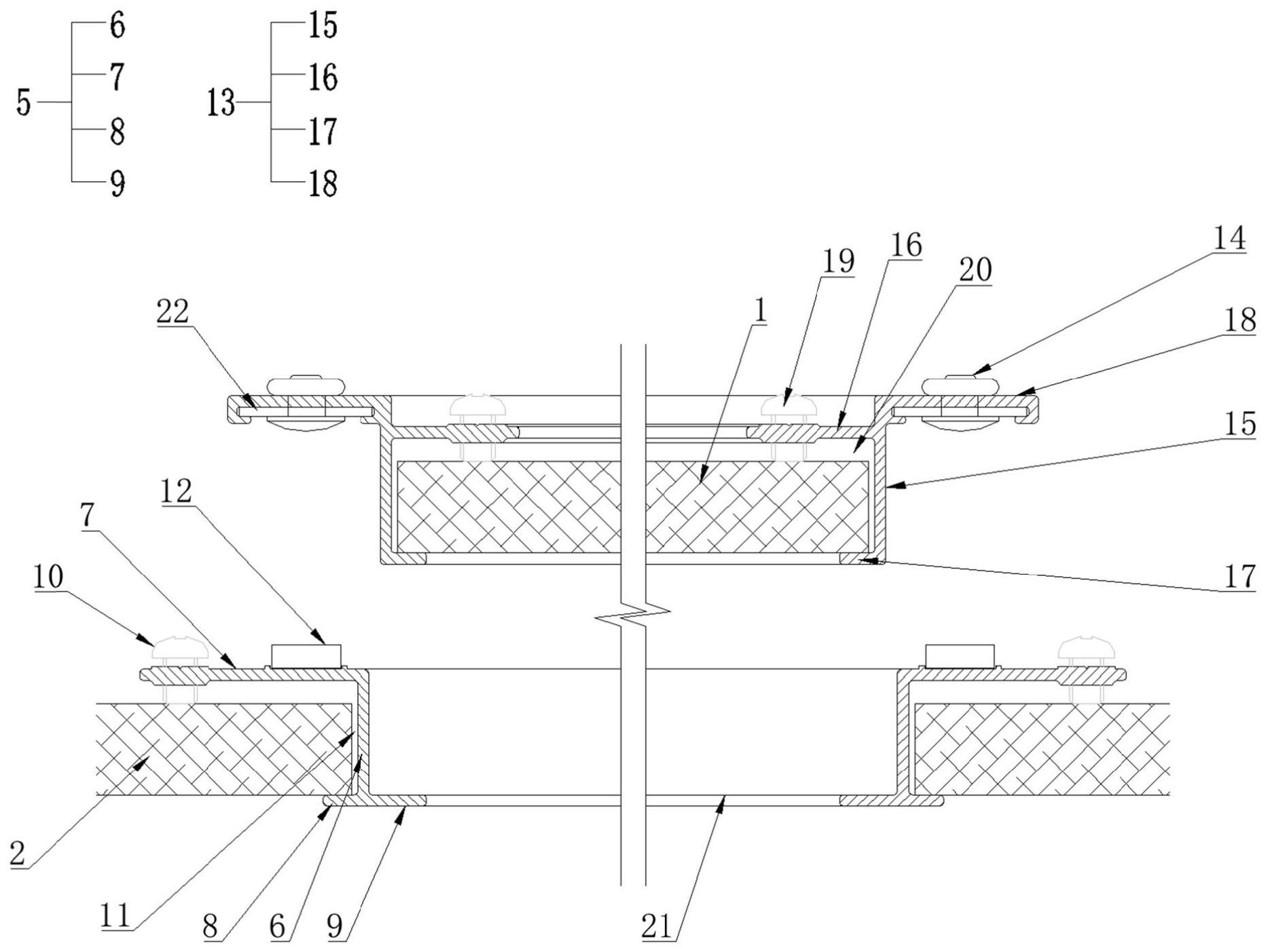
专利摘要:本发明公开了一种超高空间多角度弧面吊顶的装配式安装设计结构,属于建筑装饰技术领域,包括多个结构支撑座和弧形吊顶板,多个所述结构支撑座沿环形阵列排布并固定在顶墙基层上,所述结构支撑座上设置有沿竖直方向布置的支撑柱,所述支撑柱的下端部上设置有吊杆,所述弧形吊顶板吊挂在所述吊杆上,所述支撑柱上设置有至少两根支撑滑杆;本发明通过第一滑块在支撑滑杆上的滑动和转动调节,第一支撑杆在旋转接头上的转动调节,第三支撑板在第一支撑板上的高度调节,第二支撑板驱动第三支撑板联动旋转的角度调节,实现了固定板在多自由度方向的调节,从而使得固定板上的挂钩可以匹配不同角度的弧面并卡接,安装结构调节灵活方便,可调性强。

图片来源于网络,如有侵权,请联系删除
今年以来金 螳 螂新获得专利授权85个,较去年同期减少了3.41%。结合公司2024年年报财务数据,2024年公司在研发方面投入了5.68亿元,同比减14.99%。

图片来源于网络,如有侵权,请联系删除
通过天眼查大数据分析,苏州金螳螂建筑装饰股份有限公司共对外投资了55家企业,参与招投标项目9913次;财产线索方面有商标信息91条,专利信息2602条,著作权信息21条;此外企业还拥有行政许可66个。
数据来源:天眼查APP
以上内容为证券之星据公开信息整理,由AI算法生成(网信算备310104345710301240019号),不构成投资建议。
