科汇股份获得实用新型专利授权:“一种适用于矿区6kV供电系统的接地故障保护装置”
作者:小微
发表于:2025年07月22日
浏览量:68884

图片来源于网络,如有侵权,请联系删除
证券之星消息,根据天眼查APP数据显示科汇股份(688681)新获得一项实用新型专利授权,专利名为“一种适用于矿区6kV供电系统的接地故障保护装置”,专利申请号为CN202422202672.2,授权日为2025年7月22日。
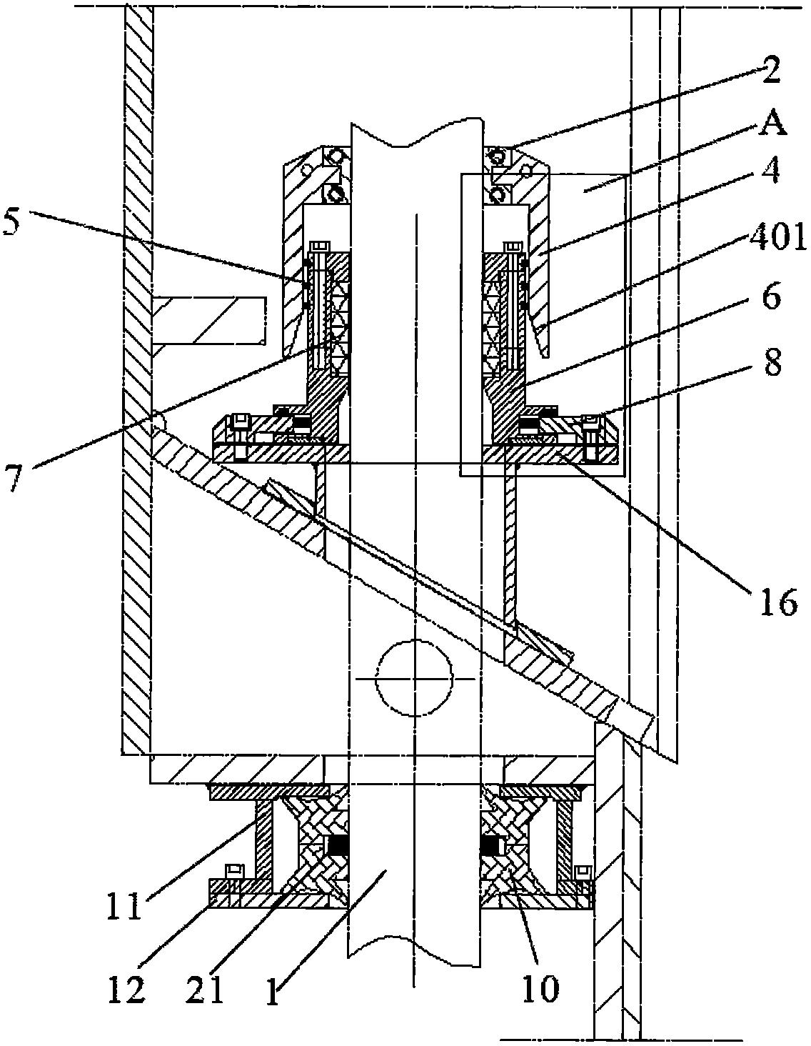
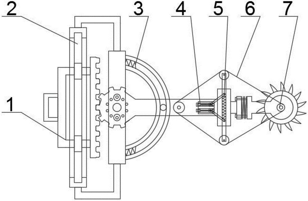
专利摘要:一种适用于矿区6kV供电系统的接地故障保护装置,属于矿区供电系统接地故障保护技术领域。包括安装在线路中的传感器以及分合闸开关,还设置有保护终端装置,其特征在于:还包括分合闸控制单元,主控单元的输入输出端与副控制器的输入输出端双向连接,副控制器的输出端与执行模块的输入端相连,执行模块与分合闸开关相连,分合闸开关还与信号接收模块相连,信号接收模块的信号输出端与副控制器相连。在本适用于矿区6kV供电系统的接地故障保护装置中,通过设置分合闸控制单元,利用分合闸控制单元中的副控制器控制分合闸开关进行动作,减轻了主控单元的运行压力,同时通过信号接收模块反馈分合闸开关的开关状态,提高了分合闸的可靠性。

图片来源于网络,如有侵权,请联系删除
今年以来科汇股份新获得专利授权7个,较去年同期增加了250%。结合公司2024年年报财务数据,2024年公司在研发方面投入了4832.37万元,同比增15.99%。
通过天眼查大数据分析,山东科汇电力自动化股份有限公司共对外投资了14家企业,参与招投标项目5094次;财产线索方面有商标信息3条,专利信息205条,著作权信息39条;此外企业还拥有行政许可10个。
数据来源:天眼查APP
以上内容为证券之星据公开信息整理,由AI算法生成(网信算备310104345710301240019号),不构成投资建议。
