和辉光电获得实用新型专利授权:“一种显示模组和显示装置”
作者:小微
发表于:2025年06月27日
浏览量:56121

图片来源于网络,如有侵权,请联系删除
证券之星消息,根据天眼查APP数据显示和辉光电(688538)新获得一项实用新型专利授权,专利名为“一种显示模组和显示装置”,专利申请号为CN202422062615.9,授权日为2025年6月27日。
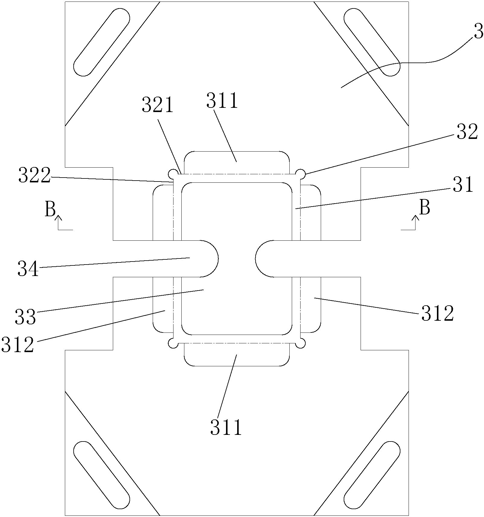
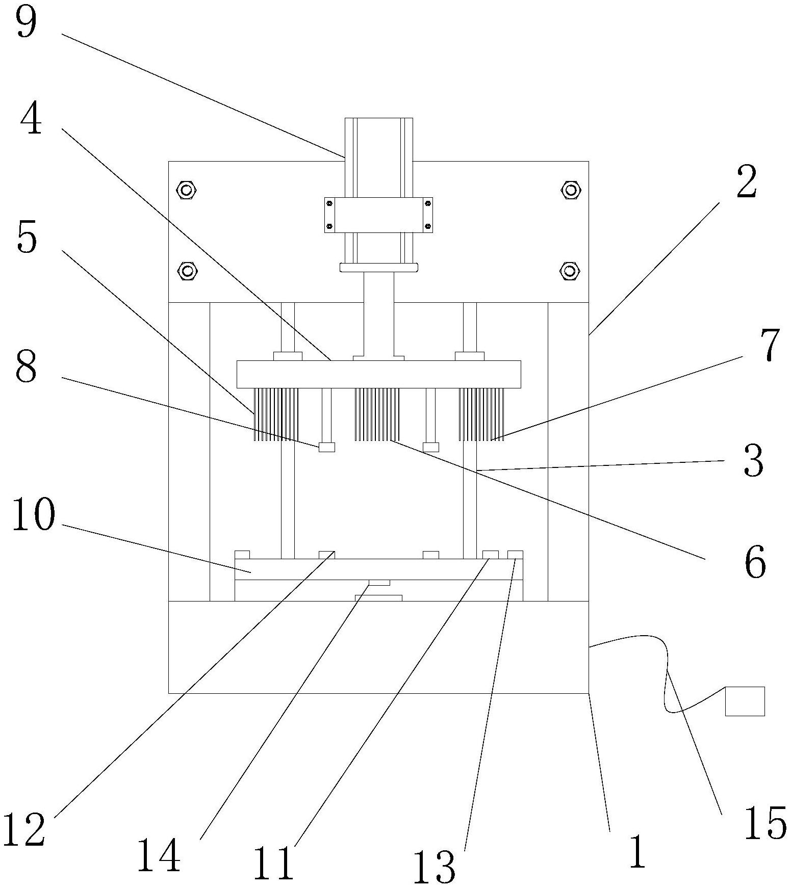
专利摘要:本实用新型公开了一种显示模组和显示装置。该显示模组包括:显示面板,包括相对设置的出光侧和非出光侧;柔性线路板第一端设置于出光侧,第二端弯折至非出光侧,柔性线路板与显示面板电连接;控制模块设置于柔性线路板的第二端,控制模块位于柔性线路板靠近显示面板的非出光侧的一侧;支撑结构设置于柔性线路板的第二端靠近显示面板的非出光侧的一侧,支撑结构设置于控制模块的至少一侧;沿平行于显示面板厚度的方向,支撑结构的高度大于控制模块的高度;导电层设置于显示面板的非出光侧,导电层包括至少一个通孔;通孔在显示面板的正投影覆盖支撑结构在显示面板的正投影。本实用新型实施例所提供的技术方案解决了按压屏幕时会产生异响的问题。

图片来源于网络,如有侵权,请联系删除
今年以来和辉光电新获得专利授权46个,与去年同期持平。结合公司2024年年报财务数据,2024年公司在研发方面投入了2.08亿元,同比增15.41%。

图片来源于网络,如有侵权,请联系删除
通过天眼查大数据分析,上海和辉光电股份有限公司参与招投标项目271次;财产线索方面有商标信息29条,专利信息1941条,著作权信息5条;此外企业还拥有行政许可494个。
数据来源:天眼查APP
以上内容为证券之星据公开信息整理,由AI算法生成(网信算备310104345710301240019号),不构成投资建议。
