广电电气获得发明专利授权:“一种电动接地开关与断路器的两段式联锁装置”
作者:小微
发表于:2025年06月25日
浏览量:83164

图片来源于网络,如有侵权,请联系删除
证券之星消息,根据天眼查APP数据显示广电电气(601616)新获得一项发明专利授权,专利名为“一种电动接地开关与断路器的两段式联锁装置”,专利申请号为CN202211129766.0,授权日为2025年6月24日。
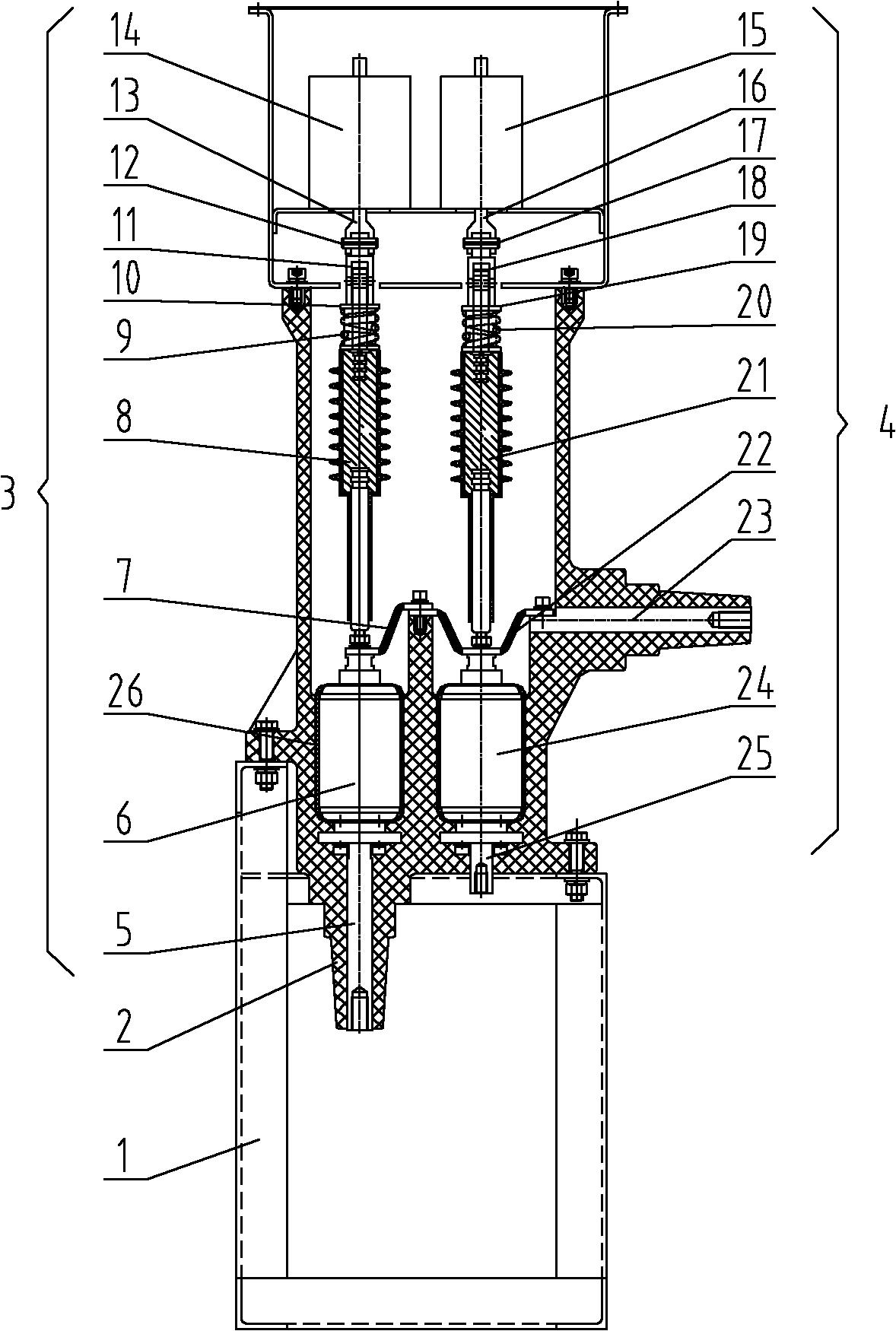
专利摘要:本发明公开了一种电动接地开关与断路器的两段式联锁装置,属于开关柜技术领域。包括操作孔挡板,操作孔挡板设置在柜体内部竖直限位滑槽内,操作孔挡板上部设置有镂空的操作窗口,还包括联锁板、活动联锁板和断路器联锁板。保留了原有的手动操作联锁结构,能够通过拨动断路器联锁板,解除拨动操作孔挡板下行限制,手动下压操作孔挡板,从操作窗口露出接地开关操作轴端部,实现接地开关的合闸、分闸;电动操作模式依靠电磁铁通电释放活动联锁板,解除拨动操作孔挡板下行限制,解锁接地开关操作轴的转动,操作轴和凸轮片的转动不会被操作孔挡板的水平滑板面阻挡,使得操作轴转动无阻碍,从而实现接地开关的合闸、分闸。

图片来源于网络,如有侵权,请联系删除
今年以来广电电气新获得专利授权7个,较去年同期增加了133.33%。结合公司2024年年报财务数据,2024年公司在研发方面投入了4820.09万元,同比增2.34%。
通过天眼查大数据分析,上海广电电气(集团)股份有限公司共对外投资了29家企业,参与招投标项目192次;财产线索方面有商标信息19条,专利信息120条,著作权信息1条;此外企业还拥有行政许可145个。
数据来源:天眼查APP
以上内容为证券之星据公开信息整理,由AI算法生成(网信算备310104345710301240019号),不构成投资建议。
