中国石油获得发明专利授权:“一种压缩气体加热装置及其控制方法、以及输油系统”
作者:小微
发表于:2025年06月14日
浏览量:60481

图片来源于网络,如有侵权,请联系删除
证券之星消息,根据天眼查APP数据显示中国石油(601857)新获得一项发明专利授权,专利名为“一种压缩气体加热装置及其控制方法、以及输油系统”,专利申请号为CN202311130883.3,授权日为2025年6月13日。
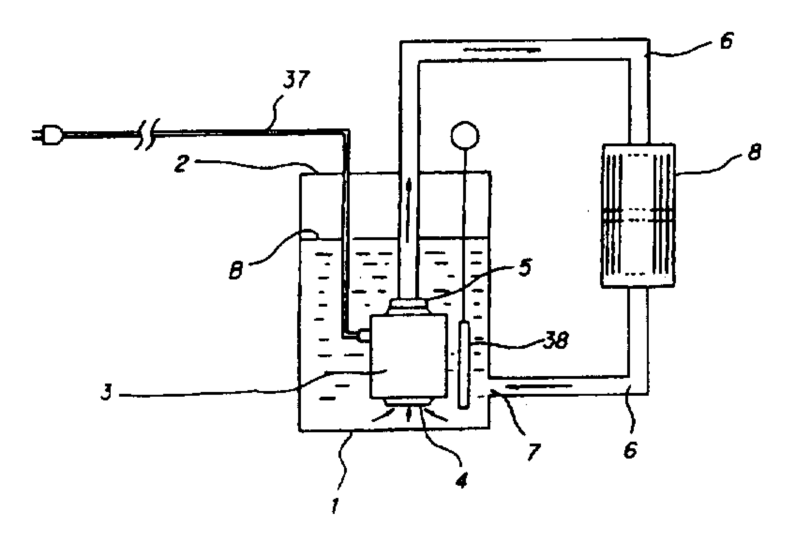
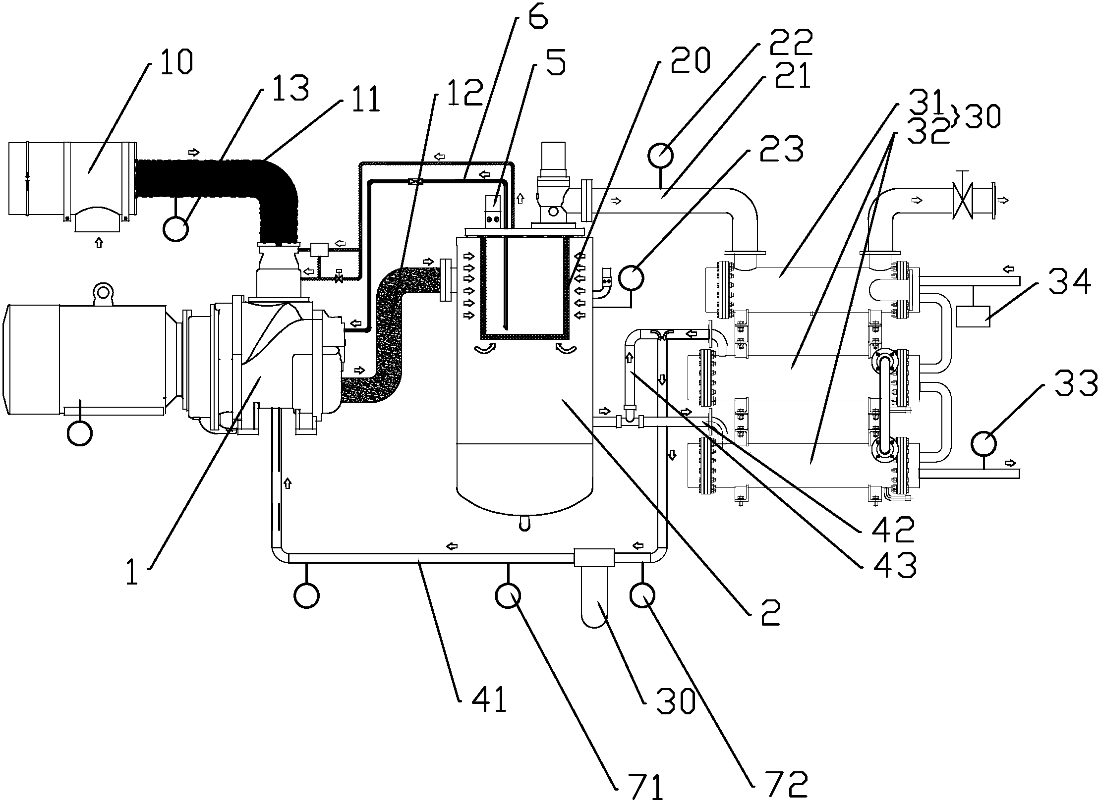
专利摘要:本发明公开一种压缩气体加热装置及其控制方法、以及输油系统,压缩气体加热装置包括空压机、罐体、换热器以及加热器;空压机的进气端与供气管道连通;罐体位于空压机的外侧,罐体内形成有储热室,储热室内填充相变蓄热材料,罐体的内壁与储热室之间还形成储气腔,空压机的出气端与储气腔连通;换热器位于储热室内,换热器的进口端与储气腔连通,换热器的出口端延伸至罐体外;加热器位于储热室内,用以加热相变蓄热材料。本发明提供的压缩气体加热装置能够对热量进行储存,热量损失小,使用能耗低,有利于减少碳排放,以及降低成本;同时,压缩气体加热更为均匀,加热效果更好。

图片来源于网络,如有侵权,请联系删除
今年以来中国石油新获得专利授权529个,较去年同期减少了48.54%。结合公司2024年年报财务数据,2024年公司在研发方面投入了230.14亿元,同比增4.77%。
数据来源:天眼查APP
以上内容为证券之星据公开信息整理,由AI算法生成(网信算备310104345710301240019号),不构成投资建议。
