海目星获得发明专利授权:“激光系统、光伏电池加工方法、电子设备及存储介质”
作者:小微
发表于:2026年03月22日
浏览量:51433

图片来源于网络,如有侵权,请联系删除
证券之星消息,根据天眼查APP数据显示海目星(688559)新获得一项发明专利授权,专利名为“激光系统、光伏电池加工方法、电子设备及存储介质”,专利申请号为CN202310690383.9,授权日为2026年3月20日。
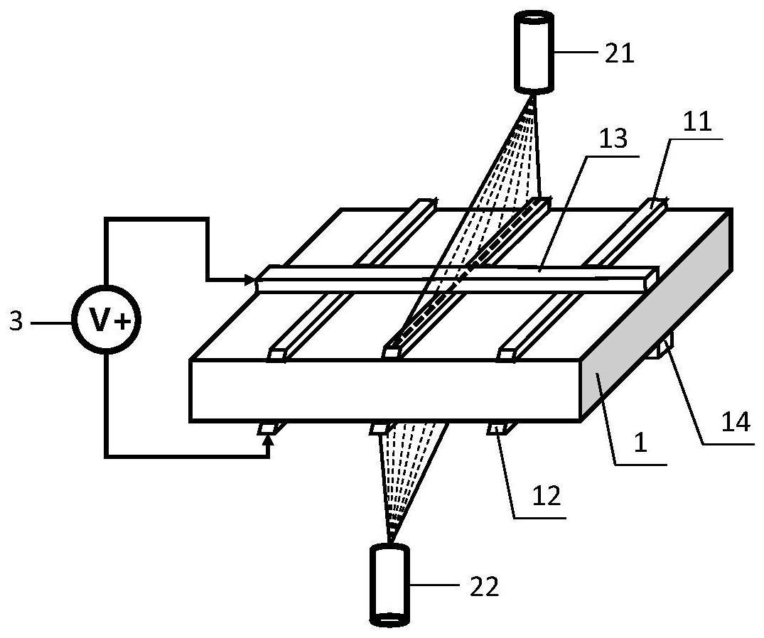
专利摘要:本申请公开了激光系统、光伏电池加工方法、电子设备及存储介质,涉及太阳能电池技术领域。其中,激光系统可以通过控制模块根据监测模块反馈的监测结果实时调节激光器的激光参数、透镜组的位置参数和振镜的扫描参数,使得光斑能量密度、光斑尺寸和光斑路径满足光伏电池图形化加工的工艺需求。由此对各个参数进行实时优化调节,形成实际加工的光斑效果与各个参数的对应关系,调制生成的整形光斑能量分布均匀,保证了加工过程光斑尺寸和光斑能量密度的相对稳定,提高了光伏电池的加工效率和精度,使得激光系统具备灵活性和高效性以适应不同光伏电池的图形化加工的工艺需求,有效降低了时间成本和人工成本。
今年以来海目星新获得专利授权30个,较去年同期减少了68.42%。结合公司2025年中报财务数据,2025上半年公司在研发方面投入了2.48亿元,同比减0.47%。
通过天眼查大数据分析,海目星激光科技集团股份有限公司共对外投资了33家企业,参与招投标项目199次;财产线索方面有商标信息54条,专利信息1661条,著作权信息215条;此外企业还拥有行政许可36个。
数据来源:天眼查APP
以上内容为证券之星据公开信息整理,由AI算法生成(网信算备310104345710301240019号),不构成投资建议。
