格力电器获得发明专利授权:“一种注塑模具斜抽芯结构及其脱模方法”
作者:小微
发表于:2026年02月28日
浏览量:65954

图片来源于网络,如有侵权,请联系删除
证券之星消息,根据天眼查APP数据显示格力电器(000651)新获得一项发明专利授权,专利名为“一种注塑模具斜抽芯结构及其脱模方法”,专利申请号为CN202210820186.X,授权日为2026年2月27日。
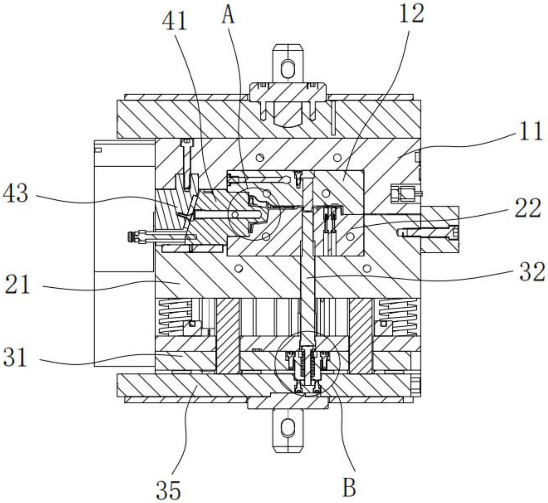
专利摘要:本发明提供一种注塑模具斜抽芯结构及其脱模方法,采用两板模结构,其中,从上至下依次包括上固定板、定模板、动模板、模脚和下固定板;所述定模板和所述动模板内分别设置有定模仁和动模仁,所述模脚内设置有顶针板运动空间,所述顶针板运动空间内设置有上顶针板和下顶针板;所述动模仁内设置有斜抽芯机构和直顶组件。该机构主要由斜抽芯机构和直顶组件构成,斜抽芯机构通过直顶组件顶出驱动。本发明优化二次顶出方式,可实现直顶先顶后退,顺利完成产品倒扣脱模,能够有效简化模具结构,避免采用动模侧弹板或油缸结构,能够降低模具制作成本,能够提高模具运行稳定性,有效减少使用过程中的异常发生。

图片来源于网络,如有侵权,请联系删除
今年以来格力电器新获得专利授权1452个,较去年同期增加了63.88%。结合公司2025年中报财务数据,2025上半年公司在研发方面投入了39.18亿元,同比增10.92%。

图片来源于网络,如有侵权,请联系删除
通过天眼查大数据分析,珠海格力电器股份有限公司共对外投资了98家企业,参与招投标项目34590次;财产线索方面有商标信息8227条,专利信息121659条,著作权信息300条;此外企业还拥有行政许可923个。
数据来源:天眼查APP
以上内容为证券之星据公开信息整理,由AI算法生成(网信算备310104345710301240019号),不构成投资建议。
