格林美获得实用新型专利授权:“一种生产装置”
作者:小微
发表于:2026年02月06日
浏览量:66771

图片来源于网络,如有侵权,请联系删除
证券之星消息,根据天眼查APP数据显示格林美(002340)新获得一项实用新型专利授权,专利名为“一种生产装置”,专利申请号为CN202520024467.3,授权日为2026年2月6日。
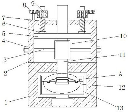
专利摘要:本实用新型涉及锂电池正极材料技术领域,公开了一种生产装置,包括:匣钵,用于存放物料;计量组件,设于匣钵的上方,用于向匣钵内填充物料;调节机构,一端固定于匣钵的上方,且位于计量组件的下方,另一端固定有匣钵,用于带动匣钵水平运动,以调节匣钵与计量组件的相对位置。本实用新型通过采用计量组件向匣钵内填充物料,能够控制物料的填充量,进而保证每次向匣钵内填充物料的重量相同;通过在匣钵与计量组件之间设置调节机构,能够在将物料填充到匣钵内时,调节匣钵在水平方向的位置,进而让物料均匀地布满匣钵,避免物料在匣钵内形成堆积,能够缩短后续振平物料表面所花费的时间,也能够避免匣钵内填充物料后在输送过程中发生洒落。

图片来源于网络,如有侵权,请联系删除
今年以来格林美新获得专利授权10个,较去年同期增加了900%。结合公司2025年中报财务数据,2025上半年公司在研发方面投入了5.11亿元,同比增6.13%。

图片来源于网络,如有侵权,请联系删除
通过天眼查大数据分析,格林美股份有限公司共对外投资了27家企业,参与招投标项目29次;财产线索方面有商标信息411条,专利信息1474条,著作权信息65条;此外企业还拥有行政许可22个。
数据来源:天眼查APP
以上内容为证券之星据公开信息整理,由AI算法生成(网信算备310104345710301240019号),不构成投资建议。
