格力电器获得实用新型专利授权:“一种物料装配装置”
作者:小微
发表于:2026年01月24日
浏览量:63561

图片来源于网络,如有侵权,请联系删除
证券之星消息,根据天眼查APP数据显示格力电器(000651)新获得一项实用新型专利授权,专利名为“一种物料装配装置”,专利申请号为CN202423206974.3,授权日为2026年1月23日。
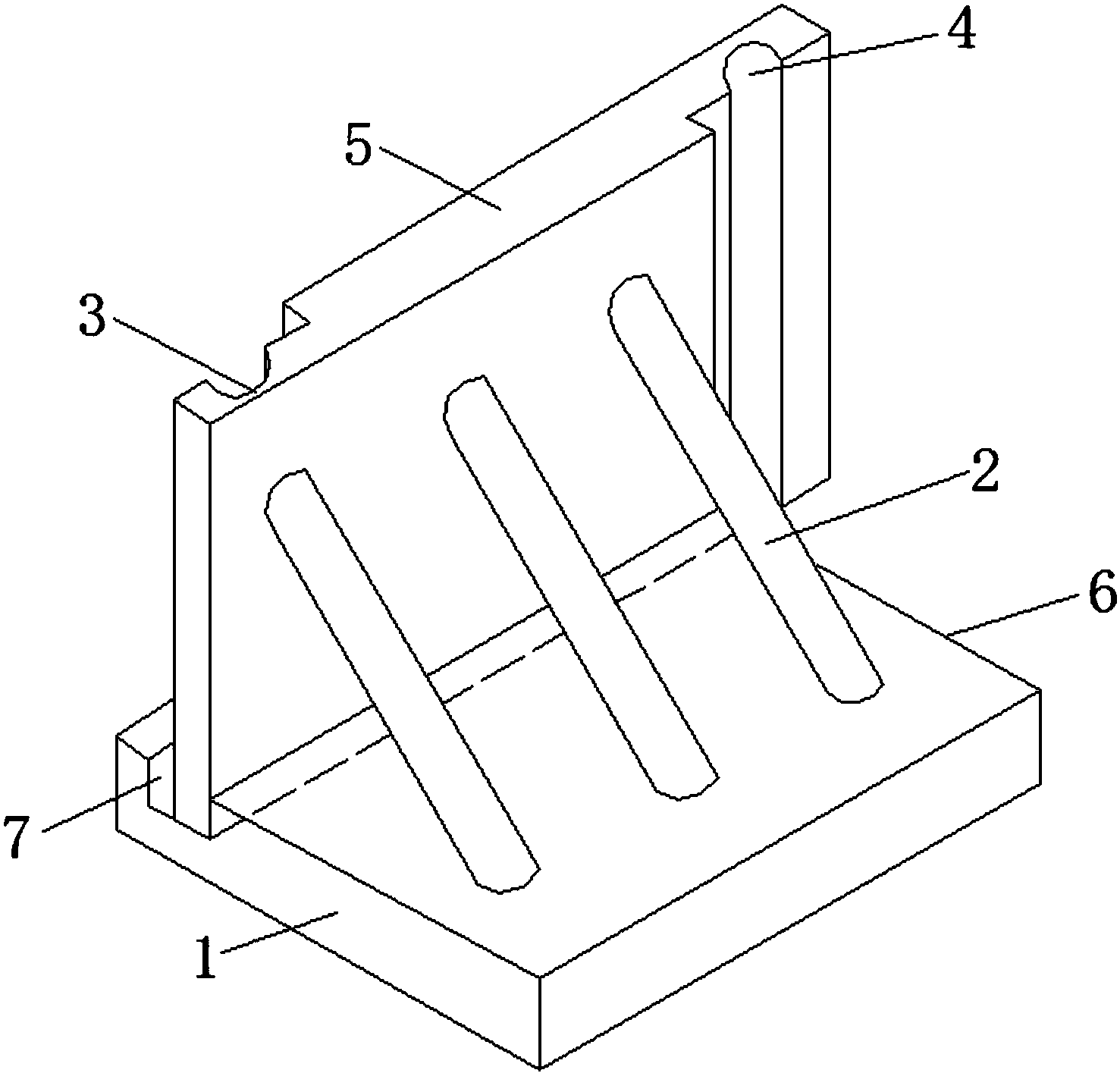
专利摘要:本实用新型提供了一种物料装配装置,包括预装机构,预装机构包括相向设置的第一限位部和导向部,第一限位部用于将待装配物料限位在第一装配工位上,导向部与待装配物料的装配孔对齐,以使预装机构将物料部分推入装配孔内;预装机构连接有压装机构,压装机构将物料全部推入所述装配孔内。预装机构带动导向部靠近待装配物料,直至导向部与待装配物料的装配孔对齐,预装机构再将物料部分推入到装配孔内,完成对物料的预装。将待装配物料移动至第二装配工位后,压装机构将物料全部推入到装配孔内,完成对物料的完全装配。在上述过程中,对待装配物料进行定位,大幅度减少装配误差,将物料进行预装,再进行完全装配,二次装配使物料的装配更加稳定。

图片来源于网络,如有侵权,请联系删除
今年以来格力电器新获得专利授权590个,较去年同期增加了76.12%。结合公司2025年中报财务数据,2025上半年公司在研发方面投入了39.18亿元,同比增10.92%。
通过天眼查大数据分析,珠海格力电器股份有限公司共对外投资了98家企业,参与招投标项目34388次;财产线索方面有商标信息8212条,专利信息120845条,著作权信息299条;此外企业还拥有行政许可908个。
数据来源:天眼查APP
以上内容为证券之星据公开信息整理,由AI算法生成(网信算备310104345710301240019号),不构成投资建议。
