沃尔德:1月16日高管张宗超、范笑颜减持股份合计1.1万股
作者:小微
发表于:2026年01月20日
浏览量:59582

图片来源于网络,如有侵权,请联系删除
证券之星消息,根据1月20日市场公开信息、上市公司公告及交易所披露数据整理,沃尔德(688028)最新董监高及相关人员股份变动情况:2026年1月16日公司董事,高级管理人员,核心技术人员张宗超、董事范笑颜共减持公司股份1.1万股,占公司总股本为0.0072%。变动期间公司股价上涨7.77%,1月16日当日收盘报77.0元。
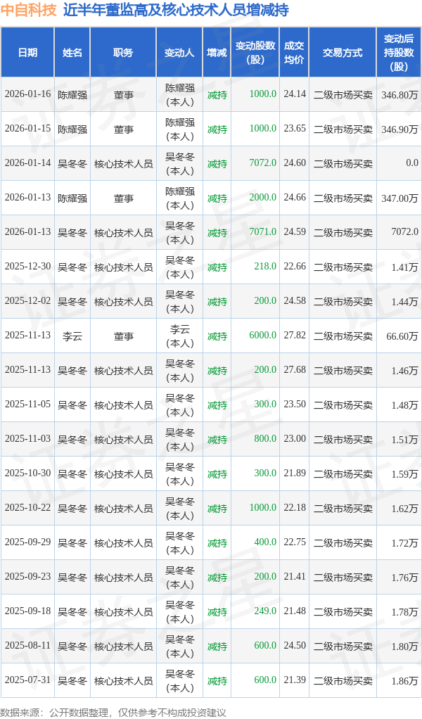
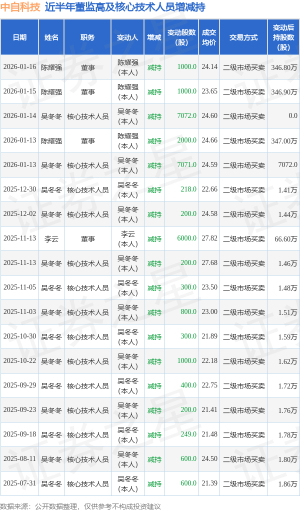
沃尔德近半年内的董监高及核心技术人员增减持详情如下:

图片来源于网络,如有侵权,请联系删除
沃尔德的高管列表及最新持股情况如下:
融资融券数据显示该股近5日融资净流入282.68万,融资余额增加;融券净流入0.0,融券余额增加。
该股最近90天内无机构评级。
以上内容为证券之星据公开信息整理,由AI算法生成(网信算备310104345710301240019号),不构成投资建议。
