兴欣新材获得实用新型专利授权:“一种用于小型填料塔的气液体再分布器”
作者:小微
发表于:2025年08月05日
浏览量:65350

图片来源于网络,如有侵权,请联系删除
证券之星消息,根据天眼查APP数据显示兴欣新材(001358)新获得一项实用新型专利授权,专利名为“一种用于小型填料塔的气液体再分布器”,专利申请号为CN202422598157.0,授权日为2025年8月5日。
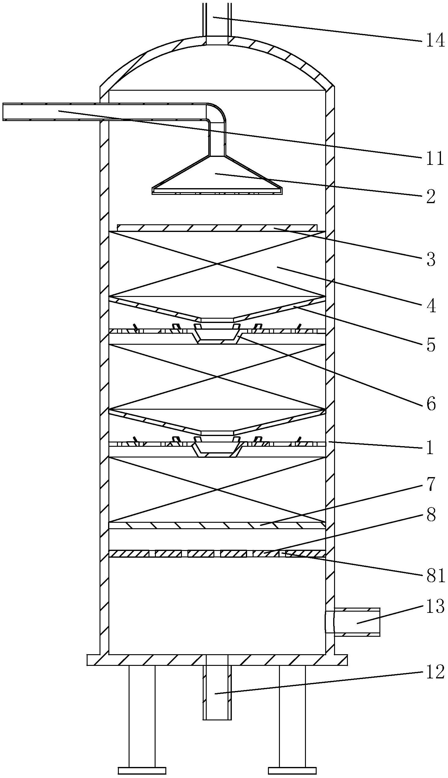
专利摘要:本实用新型涉及气液体再分布器技术领域,公开了一种用于小型填料塔的气液体再分布器,包括分布盘,分布盘上设有气体均布孔和液体均布孔,气体均布孔和液体均布孔设置在以分布盘中心为圆心的不同圆上,每一圈圆上,气体均布孔和液体均布孔交替分布,相邻两圈圆间距相等,且相邻两圈的液体分布孔之间错位分布;在分布盘上、下方分别设有气体分布管和液体分布管,气体分布管与气体均布孔相连接,液体分布管与液体均布孔相连接。本实用新型的气液体再分布器适合用在小型气液传质填料塔内,结构简单,将气相进行切割成更小的气流,同时将液体均匀分布成更小的液滴,增加了液体与气体的接触面积,从而增加传质效率。

图片来源于网络,如有侵权,请联系删除
今年以来兴欣新材新获得专利授权1个。结合公司2024年年报财务数据,2024年公司在研发方面投入了2052.19万元,同比减19.54%。

图片来源于网络,如有侵权,请联系删除
通过天眼查大数据分析,绍兴兴欣新材料股份有限公司共对外投资了5家企业,参与招投标项目26次;财产线索方面有商标信息3条,专利信息36条,著作权信息1条;此外企业还拥有行政许可35个。
数据来源:天眼查APP
以上内容为证券之星据公开信息整理,由AI算法生成(网信算备310104345710301240019号),不构成投资建议。
