华能水电获得实用新型专利授权:“一种地下厂房洞室开挖挡渣防尘装置”
作者:小微
发表于:2025年08月01日
浏览量:67621

图片来源于网络,如有侵权,请联系删除
证券之星消息,根据天眼查APP数据显示华能水电(600025)新获得一项实用新型专利授权,专利名为“一种地下厂房洞室开挖挡渣防尘装置”,专利申请号为CN202422587821.1,授权日为2025年8月1日。
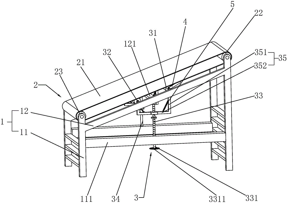
专利摘要:本申请属于地下坑洞施工技术领域,提供一种地下厂房洞室开挖挡渣防尘装置,包括支撑横梁、水幕组件及挡渣防尘网;支撑横梁与洞室口的外墙固定连接,且支撑横梁的布设高度高于洞室口边界的上沿;水幕组件及挡渣防尘网均与支撑横梁固定连接;水幕组件的作业宽度大于洞室口的水平通径,且水幕组件布设在洞室口与挡渣防尘网之间;挡渣防尘网展开铺设后完全覆盖洞室口。本申请在地下洞室爆破作业时通过布设在洞室口的挡渣防尘网对粉尘进行阻挡,同时结合水幕组件在洞室口进行降尘,有效地阻挡粉尘的扩散,降低了施工现场及周边环境的粉尘浓度,改善了施工环境。
今年以来华能水电新获得专利授权128个,较去年同期减少了59.37%。结合公司2024年年报财务数据,2024年公司在研发方面投入了1.51亿元,同比减19.49%。
通过天眼查大数据分析,华能澜沧江水电股份有限公司共对外投资了16家企业,参与招投标项目10770次;财产线索方面有商标信息30条,专利信息3729条,著作权信息303条;此外企业还拥有行政许可45个。
数据来源:天眼查APP
以上内容为证券之星据公开信息整理,由AI算法生成(网信算备310104345710301240019号),不构成投资建议。
