中国石化获得实用新型专利授权:“不停泵暂堵球投加装置和压裂系统”
作者:小微
发表于:2025年07月29日
浏览量:62485

图片来源于网络,如有侵权,请联系删除
证券之星消息,根据天眼查APP数据显示中国石化(600028)新获得一项实用新型专利授权,专利名为“不停泵暂堵球投加装置和压裂系统”,专利申请号为CN202422580461.2,授权日为2025年7月29日。
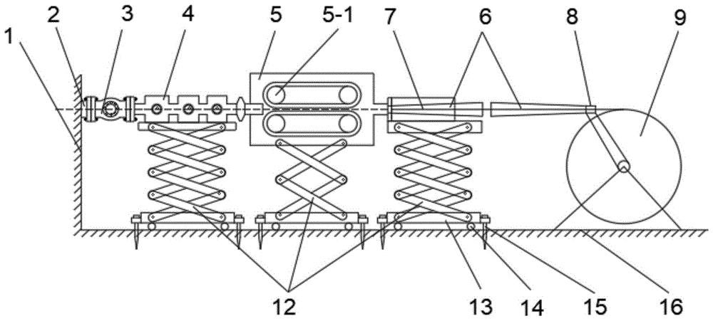
专利摘要:本实用新型涉及油气井压裂技术领域,公开了一种不停泵暂堵球投加装置和压裂系统。该投加装置包括:投球单元,投球单元包括自上而下依次设于立管上的变扣、上旋塞阀、下旋塞阀,立管通过三通连接至压裂高压管线;旋转球筒单元,旋转球筒单元与变扣连接;其中,旋转球筒单元具有至少部分镂空的底部,使得放置于旋转球筒单元内的暂堵球通过旋转球筒单元的底部的镂空部分进入投球单元。在本实用新型的技术方案中,通过上旋塞阀和下旋塞阀的交替打开和关闭,可避免高压管线内的流体涌入投加装置,从而可实现在不停泵的条件下,进行投加暂堵球。

图片来源于网络,如有侵权,请联系删除
今年以来中国石化新获得专利授权1862个,较去年同期减少了44.94%。结合公司2024年年报财务数据,2024年公司在研发方面投入了152.15亿元,同比增8.92%。
通过天眼查大数据分析,中国石油化工股份有限公司共对外投资了263家企业,参与招投标项目15584次;财产线索方面有商标信息106条,专利信息88707条,著作权信息1164条;此外企业还拥有行政许可40个。
数据来源:天眼查APP
以上内容为证券之星据公开信息整理,由AI算法生成(网信算备310104345710301240019号),不构成投资建议。
