格力电器获得实用新型专利授权:“水箱液位检测装置及车载液冷装置”
作者:小微
发表于:2025年07月23日
浏览量:67883

图片来源于网络,如有侵权,请联系删除
证券之星消息,根据天眼查APP数据显示格力电器(000651)新获得一项实用新型专利授权,专利名为“水箱液位检测装置及车载液冷装置”,专利申请号为CN202422143613.2,授权日为2025年7月8日。
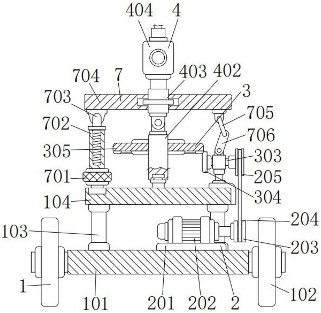
专利摘要:本实用新型提出了一种水箱液位检测装置及车载液冷装置,其中,液位变送器安装在水箱上,用于检测水箱液位;稳液板水平设置在水箱内,且稳液板上设有多个感应水流的液位传感器;驱动组件可以驱动稳液板向下移动调整高度;控制器在液位变送器检测所述水箱的液位时,控制驱动组件驱动稳液板移动,直至各个液位传感器输出感应信号时停止驱动所述稳液板移动。本实用新型通过在水箱里增加稳液板,车载液冷设备使用过程中遇到的颠簸状况时,稳液板能够移动至水面使液面平稳,再进行水箱液位检测能够准确检测出液位,从而能够解决车载液冷设备使用过程中遇到的颠簸状况导致水箱模块低液位报警不准确、报警信息滞后,未能及时识别水箱实际缺液等情况。
今年以来格力电器新获得专利授权3725个,较去年同期减少了8.32%。结合公司2024年年报财务数据,2024年公司在研发方面投入了69.04亿元,同比增2.1%。
通过天眼查大数据分析,珠海格力电器股份有限公司共对外投资了101家企业,参与招投标项目27988次;财产线索方面有商标信息8135条,专利信息115189条,著作权信息297条;此外企业还拥有行政许可827个。
数据来源:天眼查APP
以上内容为证券之星据公开信息整理,由AI算法生成(网信算备310104345710301240019号),不构成投资建议。
