光迅科技获得实用新型专利授权:“一种高密度多通道收发一体器件及激光雷达”
作者:小微
发表于:2025年07月18日
浏览量:59522

图片来源于网络,如有侵权,请联系删除
证券之星消息,根据天眼查APP数据显示光迅科技(002281)新获得一项实用新型专利授权,专利名为“一种高密度多通道收发一体器件及激光雷达”,专利申请号为CN202422250513.X,授权日为2025年7月18日。
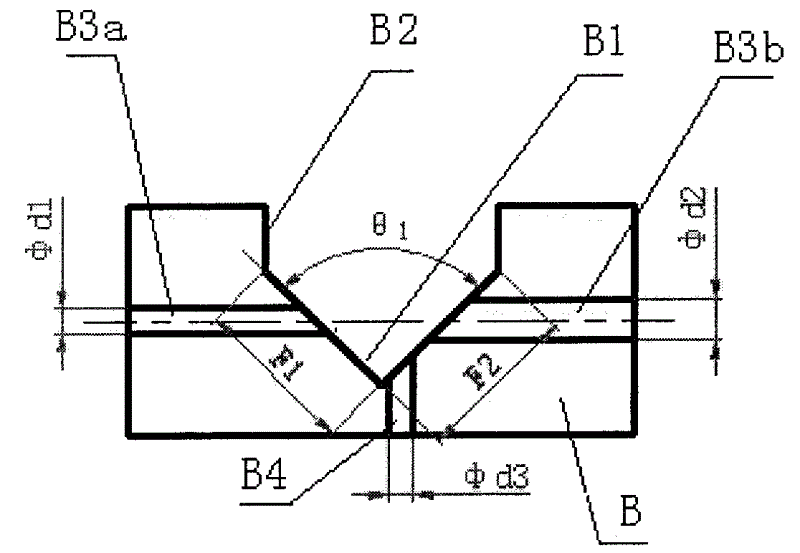
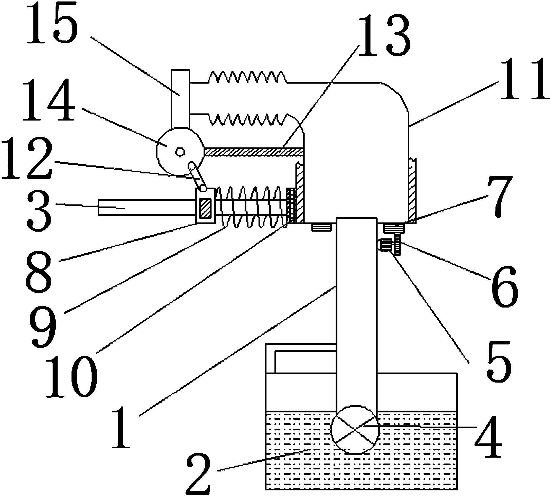
专利摘要:本实用新型提供了一种高密度多通道收发一体器件及激光雷达,包括至少四个收发组件,每个收发组件中包括波导芯片、激光器阵列和电路板组件,所述激光器阵列中包括至少8个并行设置的激光器,每个所述激光器用于出射光信号给所述波导芯片,所述波导芯片用于将接收到的每个光信号分为至少四路第一分光信号并出射给外部扫描单元,外部扫描单元将第一分光信号出射至目标对象;上述结构能够应用在激光雷达上,通过上述结构实现128数量以上的独立通道的激光雷达,避免激光雷达解调跨周期,满足了激光雷达的解调要求。

图片来源于网络,如有侵权,请联系删除
今年以来光迅科技新获得专利授权31个,较去年同期减少了34.04%。结合公司2024年年报财务数据,2024年公司在研发方面投入了7.13亿元,同比增27.41%。

图片来源于网络,如有侵权,请联系删除
通过天眼查大数据分析,武汉光迅科技股份有限公司共对外投资了8家企业,参与招投标项目2183次;财产线索方面有商标信息7条,专利信息1741条,著作权信息100条;此外企业还拥有行政许可92个。
数据来源:天眼查APP
以上内容为证券之星据公开信息整理,由AI算法生成(网信算备310104345710301240019号),不构成投资建议。
