路畅科技获得实用新型专利授权:“一种智能座舱域控制器安装固定结构”
作者:小微
发表于:2025年07月12日
浏览量:75499

图片来源于网络,如有侵权,请联系删除
证券之星消息,根据天眼查APP数据显示路畅科技(002813)新获得一项实用新型专利授权,专利名为“一种智能座舱域控制器安装固定结构”,专利申请号为CN202422397119.9,授权日为2025年7月11日。
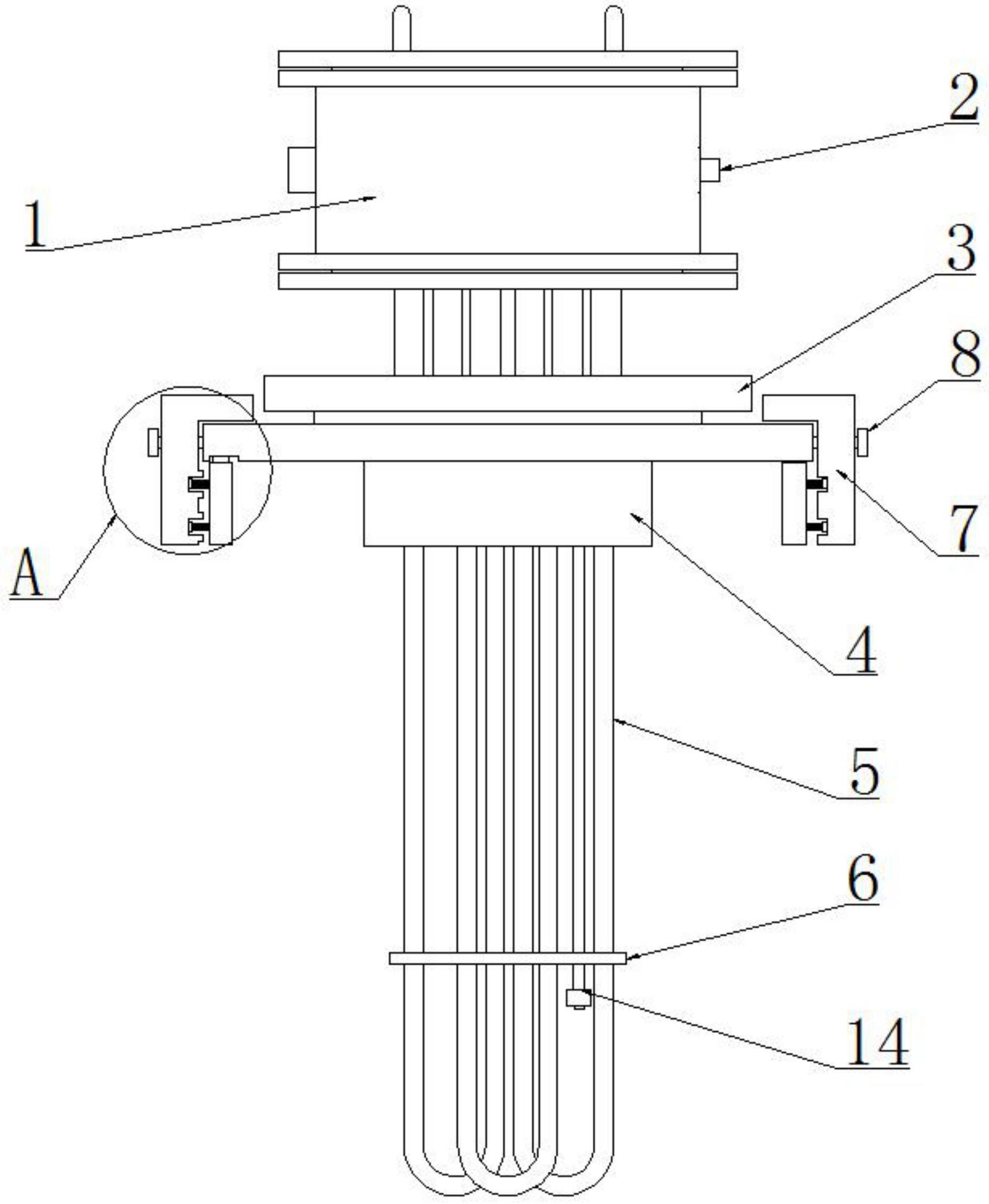
专利摘要:本实用新型涉及控制器安装技术领域,具体公开了一种智能座舱域控制器安装固定结构,解决了现有的智能座舱域控制器安装固定结构,只是依赖单一的定位方式进行固定,在固定过程中容易出现安装偏差的技术问题,包括中控安装平台,中控安装平台的上表面设置有安装支架,安装支架的上表面连接有域控制器,中控安装平台的两侧分别固定连接有固定螺栓,固定螺栓的末端连接有螺母,中控安装平台的两侧分别开设有第一螺丝孔,第一螺丝孔的内部贯穿有螺丝,在安装固定的过程中,通过安装支架与中控安装平台上的固定螺栓接触来初步定位,再结合向电源座方向移动实现精确对准,这种双重定位方式确保了安装位置的准确性。
今年以来路畅科技新获得专利授权24个,较去年同期增加了242.86%。结合公司2024年年报财务数据,2024年公司在研发方面投入了6248.95万元,同比增102.22%。
通过天眼查大数据分析,深圳市路畅科技股份有限公司共对外投资了17家企业,参与招投标项目12次;财产线索方面有商标信息272条,专利信息533条,著作权信息153条;此外企业还拥有行政许可9个。
数据来源:天眼查APP
以上内容为证券之星据公开信息整理,由AI算法生成(网信算备310104345710301240019号),不构成投资建议。
