京东方A获得发明专利授权:“像素电路、驱动方法、显示基板、显示面板和显示装置”
作者:小微
发表于:2025年07月12日
浏览量:57727

图片来源于网络,如有侵权,请联系删除
证券之星消息,根据天眼查APP数据显示京东方A(000725)新获得一项发明专利授权,专利名为“像素电路、驱动方法、显示基板、显示面板和显示装置”,专利申请号为CN202480000630.0,授权日为2025年7月11日。
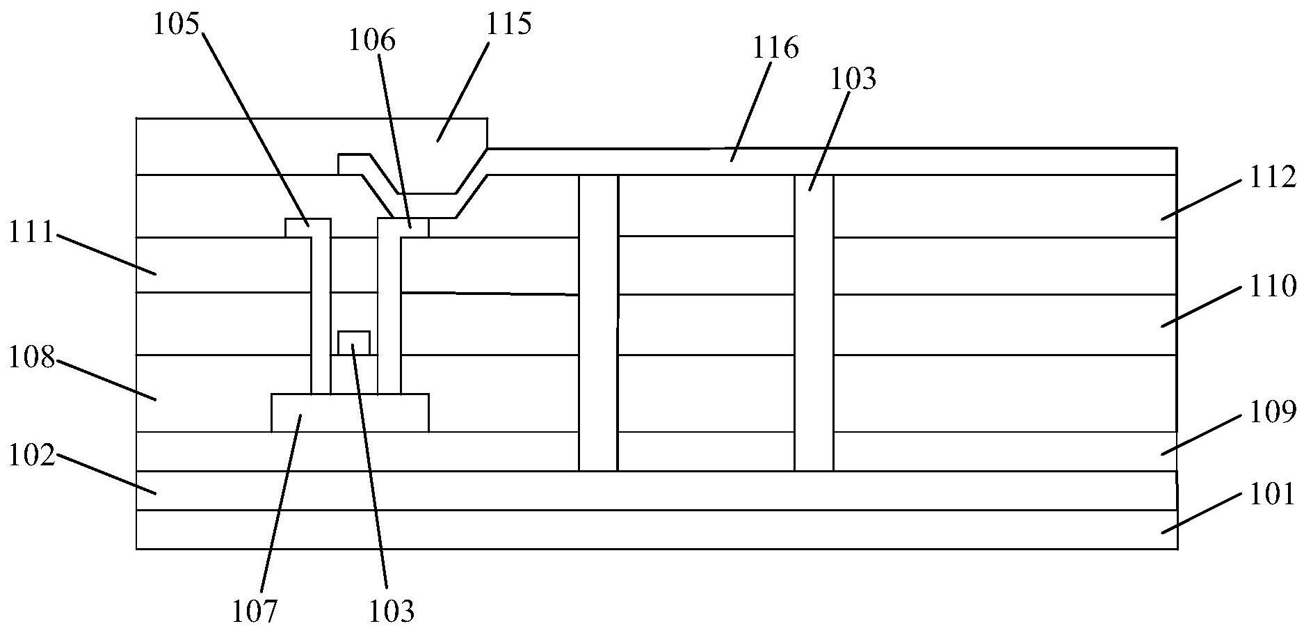
专利摘要:一种像素电路、驱动方法、显示基板、显示面板和显示装置。像素电路包括发光元件(E0)、驱动电路(10)、第一发光控制电路(11)、第一控制电路(12)、第二控制电路(13)和数据写入电路(32);第一控制电路(12)在第一复位控制信号的控制下,将第一控制电压提供至第二控制节点(N2),在第二控制节点(N2)的电位的控制下,控制第一发光控制线(E1)提供第一发光控制信号至第一控制节点(N1);第二控制电路(13)在第二复位控制信号的控制下,将第二控制电压写入第三控制节点(N3),在第三控制节点(N3)的电位的控制下,控制第二发光控制线(Hf)提供第二发光控制信号至第一控制节点(N1)。

图片来源于网络,如有侵权,请联系删除
今年以来京东方A新获得专利授权2050个,较去年同期减少了0.82%。结合公司2024年年报财务数据,2024年公司在研发方面投入了131.23亿元,同比增15.94%。
数据来源:天眼查APP
以上内容为证券之星据公开信息整理,由AI算法生成(网信算备310104345710301240019号),不构成投资建议。
