格力电器获得实用新型专利授权:“一种空气净化装置及包含其的空气调节设备”
作者:小微
发表于:2025年07月01日
浏览量:49040

图片来源于网络,如有侵权,请联系删除
证券之星消息,根据天眼查APP数据显示格力电器(000651)新获得一项实用新型专利授权,专利名为“一种空气净化装置及包含其的空气调节设备”,专利申请号为CN202422281156.3,授权日为2025年7月1日。
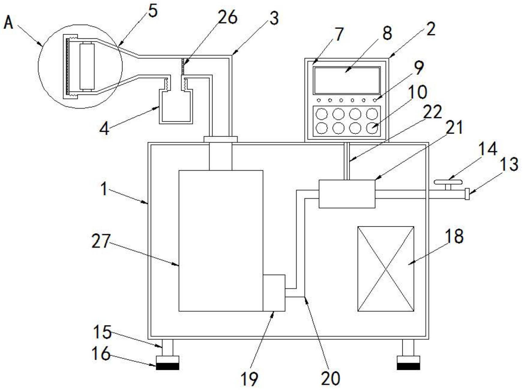
专利摘要:本实用新型提供了一种空气净化装置及包含其的空气调节设备,涉及空气净化技术领域,解决了空气净化装置的安装影响进出风量、适用范围窄的技术问题。该空气净化装置包括支架、过滤装置、固定件;支架为柔性可调节结构,能根据安装位置进行角度调节;过滤装置以可拆卸方式安装在支架上,用于进行空气净化;固定件设置在支架上,用于将空气净化装置以可拆卸方式安装于待安装位置;空气调节设备包括设备主体和可拆卸设置在设备主体外侧的空气净化装置。本实用新型通过设置独立空气净化装置,并在空气净化装置中设置风机,独立驱动进出风,外接空气净化装置的同时提升进风效率,避免对于原有产品的进风运行影响。

图片来源于网络,如有侵权,请联系删除
今年以来格力电器新获得专利授权3323个,较去年同期减少了0.42%。结合公司2024年年报财务数据,2024年公司在研发方面投入了69.04亿元,同比增2.1%。

图片来源于网络,如有侵权,请联系删除
通过天眼查大数据分析,珠海格力电器股份有限公司共对外投资了100家企业,参与招投标项目26607次;财产线索方面有商标信息8132条,专利信息115519条,著作权信息297条;此外企业还拥有行政许可828个。
数据来源:天眼查APP
以上内容为证券之星据公开信息整理,由AI算法生成(网信算备310104345710301240019号),不构成投资建议。
