森鹰窗业获得实用新型专利授权:“一种隐藏门窗执手结构”
作者:小微
发表于:2025年06月27日
浏览量:66489

图片来源于网络,如有侵权,请联系删除
证券之星消息,根据天眼查APP数据显示森鹰窗业(301227)新获得一项实用新型专利授权,专利名为“一种隐藏门窗执手结构”,专利申请号为CN202421958109.1,授权日为2025年6月27日。
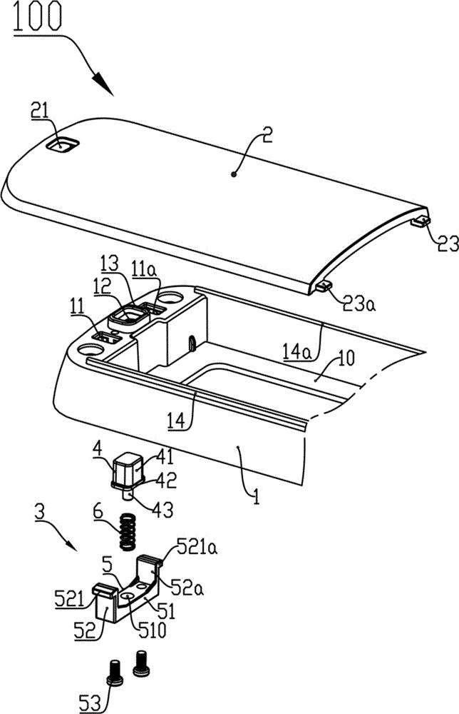
专利摘要:本实用新型公开了一种隐藏门窗执手结构,涉及门窗组件的技术领域,解决了室内人员易与门窗执手发生碰撞及执手旋转不到位会出现锁闭不严的问题,包括:执手底座、执手、方轴组合顶盖、方轴组合底盖、方轴和内啮合齿轮,本实用新型采用为传动比1:2的一对内啮合圆柱齿轮,将执手的180°旋转转换为方轴的90°旋转,同时配合磁铁、限位壁,实现门窗在锁闭、平开或悬开等各状态下的执手位置准确、隐藏并完美贴合底座;本实用新型的隐藏执手与窗扇内侧一平,增强窗扇整体美观度。减少传统门窗执手的潜在碰撞危险。

图片来源于网络,如有侵权,请联系删除
今年以来森鹰窗业新获得专利授权35个,较去年同期增加了169.23%。结合公司2024年年报财务数据,2024年公司在研发方面投入了3201.19万元,同比减0.85%。
通过天眼查大数据分析,哈尔滨森鹰窗业股份有限公司共对外投资了11家企业,参与招投标项目68次;财产线索方面有商标信息176条,专利信息488条;此外企业还拥有行政许可26个。
数据来源:天眼查APP
以上内容为证券之星据公开信息整理,由AI算法生成(网信算备310104345710301240019号),不构成投资建议。
