海泰新能获得实用新型专利授权:“一种助力光伏组件打包带束紧力测量的测力计装置”
作者:小微
发表于:2025年06月21日
浏览量:49359

图片来源于网络,如有侵权,请联系删除
证券之星消息,根据天眼查APP数据显示海泰新能(835985)新获得一项实用新型专利授权,专利名为“一种助力光伏组件打包带束紧力测量的测力计装置”,专利申请号为CN202422059134.2,授权日为2025年6月6日。
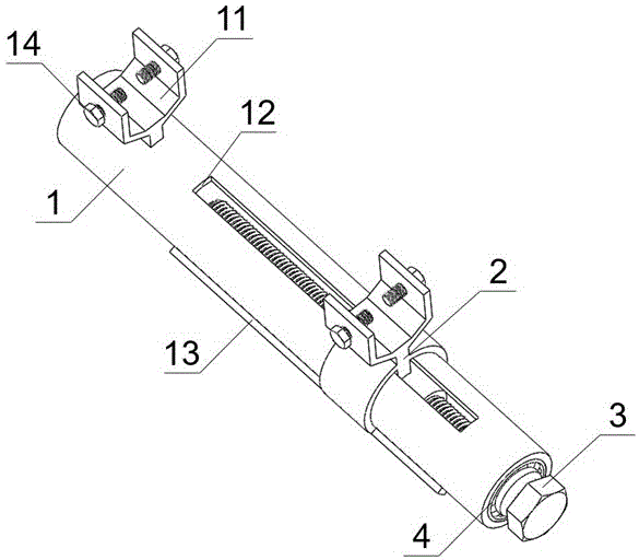
专利摘要:本实用新型涉及测力计技术领域,提出了一种助力光伏组件打包带束紧力测量的测力计装置,包括支撑板、测量机构、拉力夹、定位机构、定位板、移动块和凸杆,测量机构安装在支撑板上,拉力夹滑动连接在支撑板,定位机构安装在测量机构的两侧,定位板设有两个,两个定位板分别固定连接在支撑板的两侧,移动块设有两个,两个移动块可拆卸连接在两个定位板上,凸杆设有多个,多个凸杆固定连接在移动块内,通过上述技术方案,解决了现有技术中一手持刻度尺,一手使用拉力计进行打包带力度测量,测试时人工使用极不方便,甚至无法很好控制拉伸5cm测量标准长度,导致检测结果不准,影响打包带质量检测结果的问题。

图片来源于网络,如有侵权,请联系删除
今年以来海泰新能新获得专利授权34个,较去年同期增加了3300%。结合公司2024年年报财务数据,2024年公司在研发方面投入了2383.2万元,同比增18.02%。
通过天眼查大数据分析,唐山海泰新能科技股份有限公司共对外投资了39家企业,参与招投标项目813次;财产线索方面有商标信息45条,专利信息247条,著作权信息11条;此外企业还拥有行政许可12个。
数据来源:天眼查APP
以上内容为证券之星据公开信息整理,由AI算法生成(网信算备310104345710301240019号),不构成投资建议。
