白银有色获得实用新型专利授权:“一种分层式脱硫塔”
作者:小微
发表于:2025年06月17日
浏览量:57679

图片来源于网络,如有侵权,请联系删除
证券之星消息,根据天眼查APP数据显示白银有色(601212)新获得一项实用新型专利授权,专利名为“一种分层式脱硫塔”,专利申请号为CN202421362333.4,授权日为2025年6月17日。
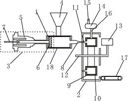
专利摘要:本实用新型涉及烟气净化技术领域,具体涉及一种分层式脱硫塔,包括:脱硫塔外壳,其为本新型脱硫塔主体,废料箱,其设置于脱硫塔外壳的侧面,倾斜过滤板,其安装于脱硫塔外壳的内部,垂直过滤板,其设置于废料箱的一侧,电机,其安装于脱硫塔外壳的侧面,第一锥齿轮,其连接于电机的一端,防水外壳,其设置于脱硫塔外壳的内部。本实用新型克服了现有技术的不足,通过废料箱和扇叶,通过电机驱动扇叶的转动,增加气体流动速度,以提高脱硫塔的处理能力和效率,通过循环水泵和喷淋头进行喷淋,将喷淋水冲洗过滤物到废料箱中,并通过垂直过滤板进行过滤和收集,从而减少清理过滤物的频率,增加脱硫塔的连续作业时间,提高操作效率。

图片来源于网络,如有侵权,请联系删除
今年以来白银有色新获得专利授权71个,较去年同期增加了61.36%。结合公司2024年年报财务数据,2024年公司在研发方面投入了2.8亿元,同比增117.81%。

图片来源于网络,如有侵权,请联系删除
数据来源:天眼查APP
以上内容为证券之星据公开信息整理,由AI算法生成(网信算备310104345710301240019号),不构成投资建议。
