电气风电获得发明专利授权:“发电机的固定轴及包括其的风力发电机”
作者:小微
发表于:2025年06月07日
浏览量:51004

图片来源于网络,如有侵权,请联系删除
证券之星消息,根据天眼查APP数据显示电气风电(688660)新获得一项发明专利授权,专利名为“发电机的固定轴及包括其的风力发电机”,专利申请号为CN202110199831.6,授权日为2025年6月6日。
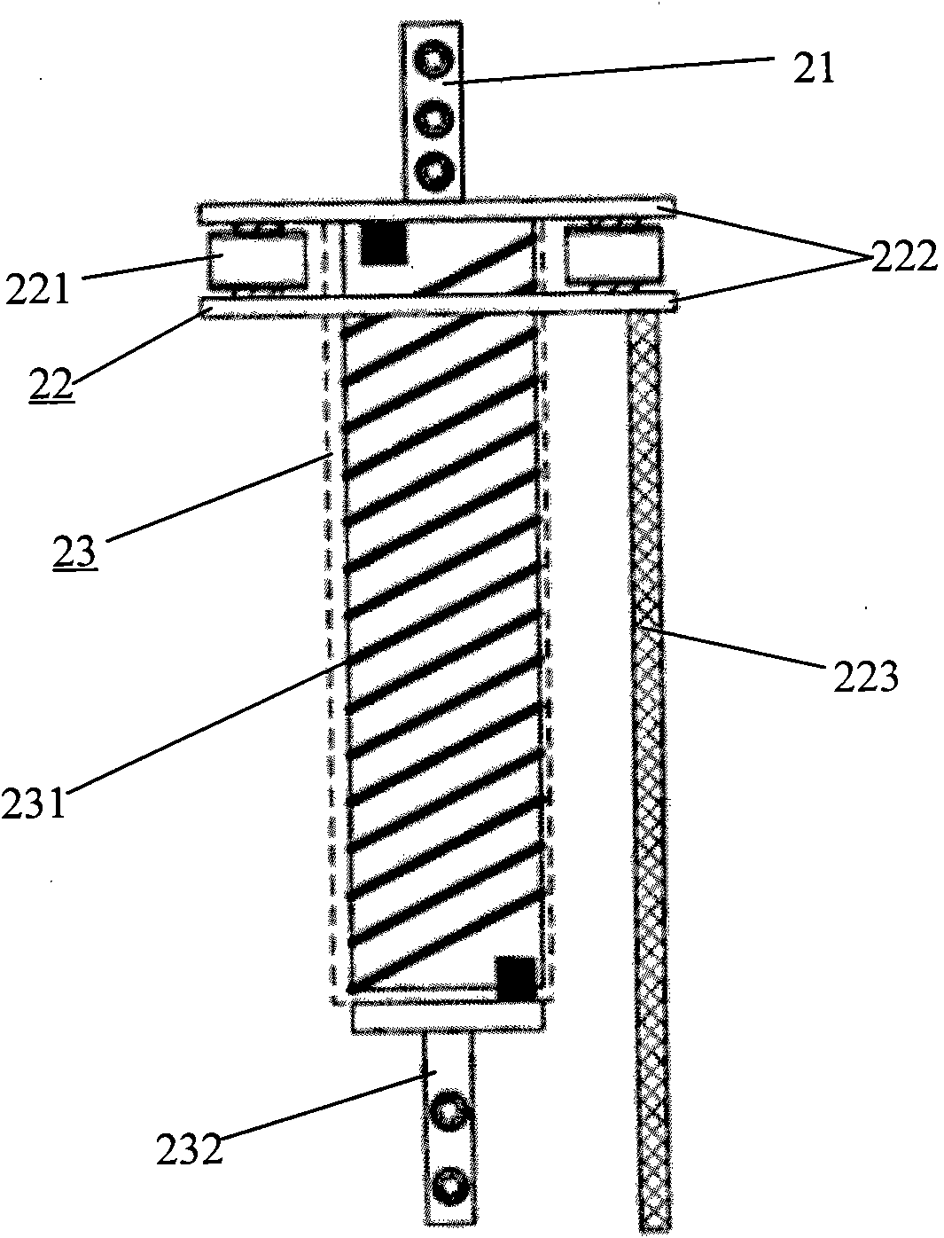
专利摘要:本发明公开了一种发电机的固定轴及包括其的风力发电机,其包括轴身和设置于轴身外侧壁的中间法兰,中间法兰用于连接定子支撑,中间法兰的远离所述轴身的一端设置有固定部,固定部的至少一端沿固定轴的轴线方向突出于中间法兰的表面并朝向轴身的端部方向延伸,定子支撑抵靠并连接于固定部。本发明提供的发电机的固定轴及包括其的风力发电机通过在固定轴的中间法兰的端部设置一固定部,从而提供一个用于和定子支撑固定的支撑平台,支撑平台沿轴向方向突出于中间法兰,加强了中间法兰与定子支撑的连接端的结构刚度,还提供了更大的面积来固定定子支撑,从而使对定子支撑的固定效果得到保证的同时,支撑效果也更好。

图片来源于网络,如有侵权,请联系删除
今年以来电气风电新获得专利授权22个,较去年同期减少了60.71%。结合公司2024年年报财务数据,2024年公司在研发方面投入了6.23亿元,同比减5.34%。
数据来源:天眼查APP
以上内容为证券之星据公开信息整理,由AI算法生成(网信算备310104345710301240019号),不构成投资建议。
