快可电子获得发明专利授权:“一种集成有多种固定结构的光伏组件电器盒”
作者:小微
发表于:2025年05月28日
浏览量:50696

图片来源于网络,如有侵权,请联系删除
证券之星消息,根据天眼查APP数据显示快可电子(301278)新获得一项发明专利授权,专利名为“一种集成有多种固定结构的光伏组件电器盒”,专利申请号为CN202211317178.X,授权日为2025年5月27日。
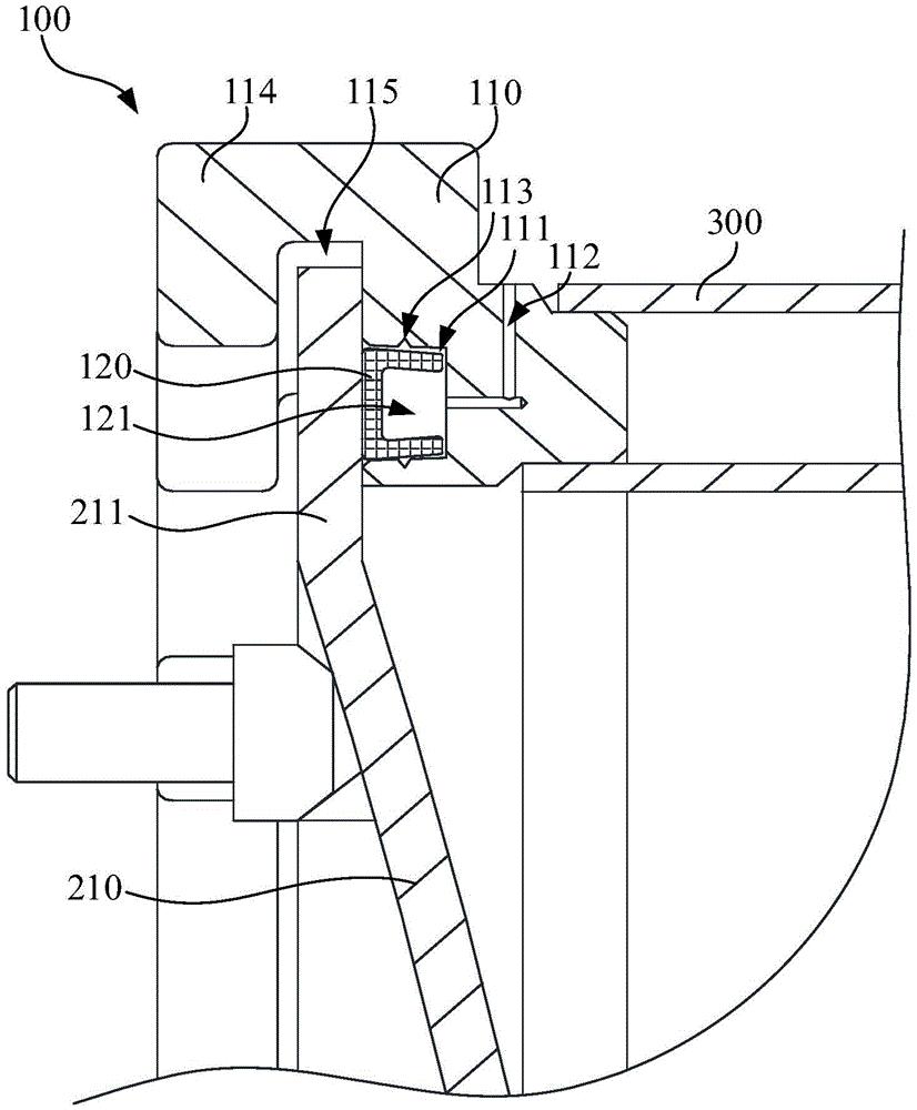
专利摘要:本发明提供一种集成有多种固定结构的光伏组件电器盒,其包括盒体、盒盖以及与盒体通过电缆线连接的连接器;盒体包括盒体本体以及设置在一侧面上的固定结构,固定结构包括第一固定结构、第二固定结构,第二固定结构上可拆卸的设有卡夹部件;第一固定上设有螺丝固定孔槽,第二固定结构上设有螺丝固定孔;卡夹部件呈S型构造,两个开口部分别与第二固定结构以及光伏组件边框卡接。本发明的集成有多种固定结构的光伏组件电器盒,除了可以采用传统的通过背面涂胶的方式与光伏组件固定,还集成了三种固定结构,可以供用户根据需要灵活选择,不管是对于组件生产厂商预装、系统建造时安装还是光伏发电系统改造时安装,都可以适用,安装方式灵活且便捷。
今年以来快可电子新获得专利授权13个,较去年同期增加了44.44%。结合公司2024年年报财务数据,2024年公司在研发方面投入了3963.25万元,同比减30.93%。
数据来源:天眼查APP
以上内容为证券之星据公开信息整理,由AI算法生成(网信算备310104345710301240019号),不构成投资建议。
