宁德时代获得实用新型专利授权:“一种裁切设备和裁切系统”
作者:小微
发表于:2025年05月27日
浏览量:68997

图片来源于网络,如有侵权,请联系删除
证券之星消息,根据天眼查APP数据显示宁德时代(300750)新获得一项实用新型专利授权,专利名为“一种裁切设备和裁切系统”,专利申请号为CN202520256441.1,授权日为2025年5月27日。
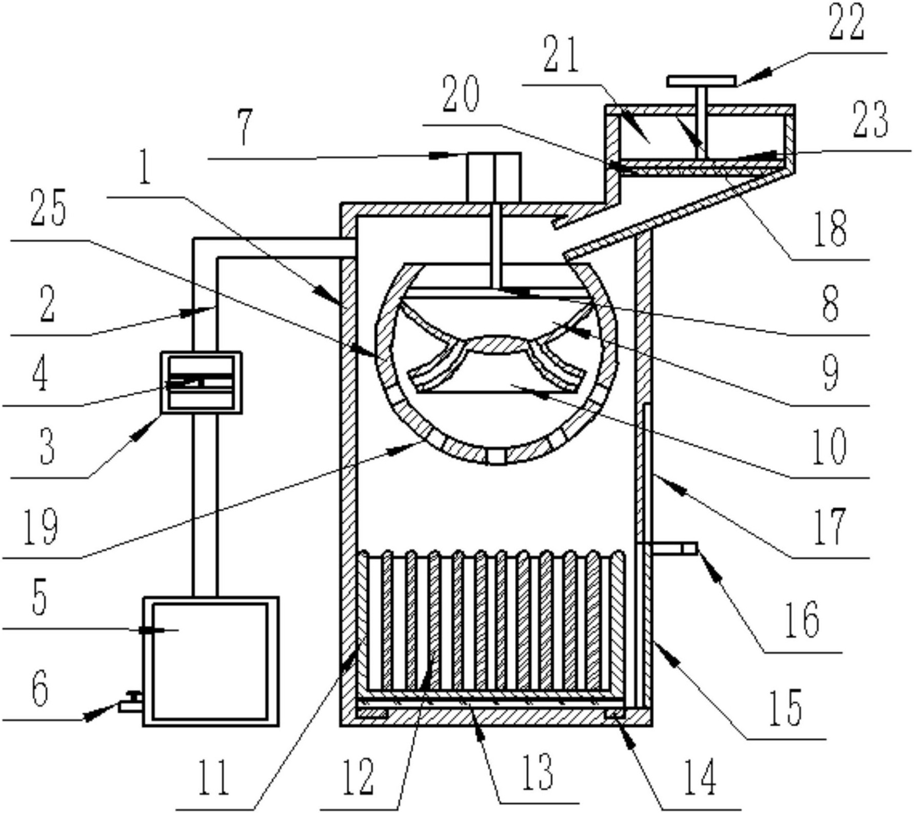
专利摘要:本申请公开了一种裁切设备和裁切系统,本申请提供的裁切设备包括第一驱动件、载物台和裁切组件,载物台用于承载待加工件;裁切组件与第一驱动件连接,裁切组件包括按压壳、旋转裁切件和第二驱动件,第一驱动件用于驱动按压壳沿第一方向靠近载物台以使按压壳按压待加工件,第一驱动件用于驱动旋转裁切件沿第一方向靠近载物台,以及第二驱动件用于驱动旋转裁切件转动以裁切待加工件。由此,可通过第一驱动件驱动按压壳按压待加工件,提高裁切稳定性,第一驱动件还可驱动旋转裁切件靠近载物台,第二驱动件驱动旋转裁切件转动,使得旋转裁切件转动裁切待加工件,提高裁切待加工件的自动化程度和旋转裁切件的裁切效率,裁切一致性更好。
今年以来宁德时代新获得专利授权1835个,较去年同期增加了32.87%。结合公司2024年年报财务数据,2024年公司在研发方面投入了186.07亿元,同比增1.37%。
数据来源:天眼查APP
以上内容为证券之星据公开信息整理,由AI算法生成(网信算备310104345710301240019号),不构成投资建议。
